EasyManua.ls Logo

Fantech SHR6904 - Partially Dedicated Systems (Indirect Connections); Simplified Installation

Fantech SHR6904
48 pages
Print Icon
To Next Page IconTo Next Page
To Next Page IconTo Next Page
To Previous Page IconTo Previous Page
To Previous Page IconTo Previous Page
Loading...
10
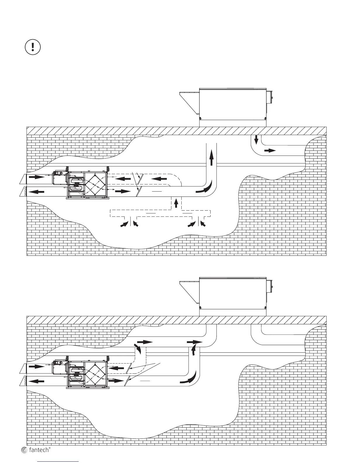
Installation examples (Cont'd)
* Drawings are illustrations only and actual port locations and airflow directions may vary, consult unit spec sheets.
It is the responsibility of the installer to ensure all ductwork is sized and installed as designed to ensure the system will perform as intended.
The amount of air (CFM) that an HRV will deliver is directly related to the total external static pressure (E.S.P.) of the system. Static pressure
is a measure of resistance imposed on the blower by length of duct work/number of fittings used in duct work, duct heater etc.
SUPPLY IN
EXHAUST OUT
HRV UNIT
RETURN AIR DUCT
AIR HANDLER UNIT
SUPPLY IN
BALANCING DAMPERS
SUPPLY IN
EXHAUST OUT
HRV UNIT
SUPPLY DUCT
EXHAUST AIR TO HRV UNIT
12" BREATHER SPACE
CEILING RETURN AIR PLENUM
AIR HANDLER UNIT
SUPPLY IN
BALANCING DAMPERS
Simplified Installation
• Stale air drawn from return of air handler
Fresh air supplied to return of air handler, further down
stream of HRV exhaust
Air Handler blower must operate when HRV is providing
ventilation
• HRV airflow should be balanced
Partially Dedicated System (Indirect Connections)
• Stale air drawn from areas of contamination
• Fresh air supplied into ceiling return air plenum or grille
• HRV airflow should be balanced