EasyManua.ls Logo

FATEK FBs-CB55 - Page 332

FATEK FBs-CB55
348 pages
Print Icon
To Next Page IconTo Next Page
To Next Page IconTo Next Page
To Previous Page IconTo Previous Page
To Previous Page IconTo Previous Page
Loading...
Appendix 2 -5
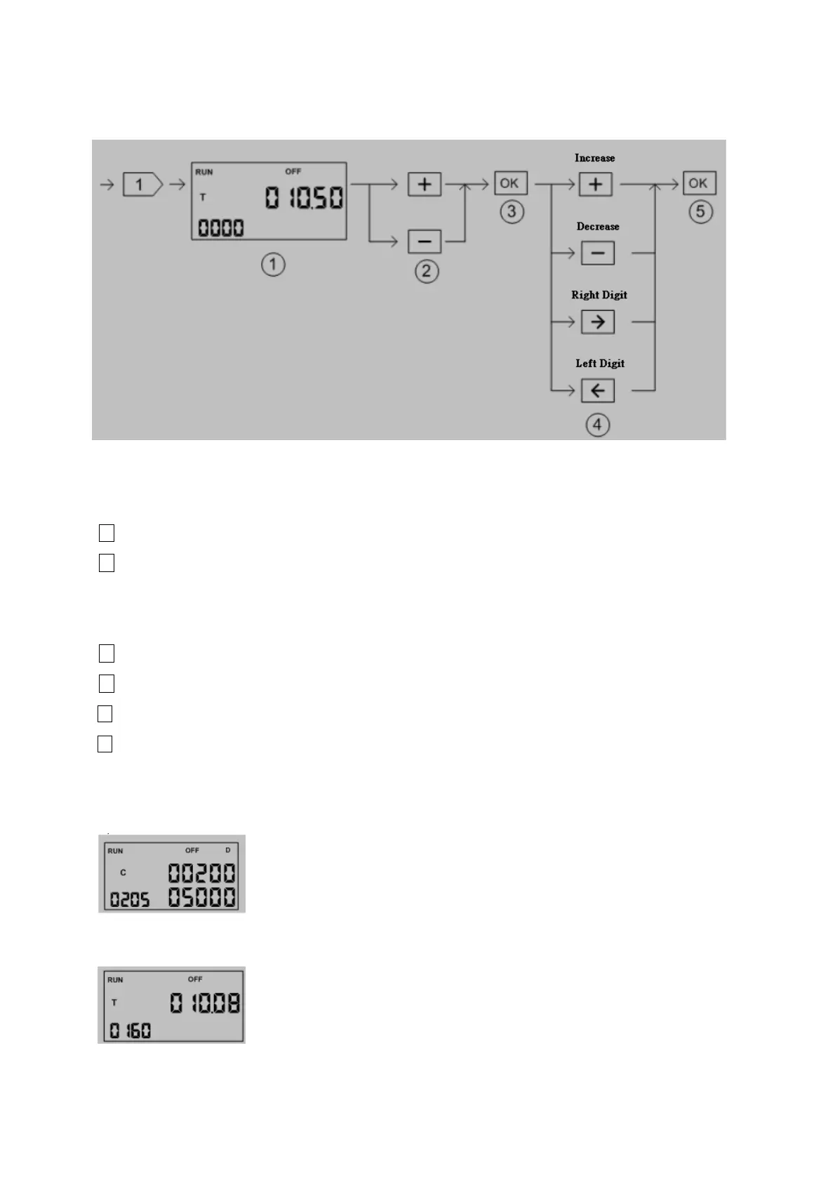
Timer/Counter Status Monitoring:
1
The current value of T, C element if reach the preset value will show ”ON”, otherwise
will show”OFF”
2
Reference number adjust
key: Reference number decreased by one
key: Reference number increased by one
3
Enter editing mode. The digit to be changed will be blinked.
4
Modify value
key: Increased by one
key: Decreased by one
Æ key: Move to the right digit
Å key: Move to the left digit.
5
Finish the editing and increase the reference number by one and back to
1
When monitoring the counter element, if the reference number is great than 200
then the display value will be in 32 bit format(C200~C255 are 32bit counter)
When monitoring the timer element, the decimal point of current value will be set
accordingly.

Other manuals for FATEK FBs-CB55

Related product manuals