EasyManua.ls Logo

FATEK FBs-CM22 - Connection Diagrams of Various Models

FATEK FBs-CM22
348 pages
Print Icon
To Next Page IconTo Next Page
To Next Page IconTo Next Page
To Previous Page IconTo Previous Page
To Previous Page IconTo Previous Page
Loading...
H1-9
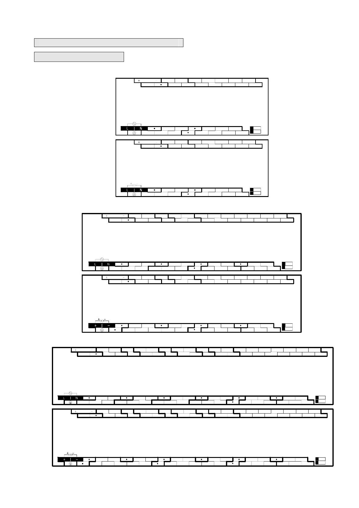
1.7 Connection Diagrams of Various Models
[7.62mm Detachable Terminal Block]
z 20 point digital I/O main unit (12 points IN, 8 points OUT)
AC
Power
DC
Power
SINK
Y6Y4Y2Y1-Y0-
SG Y0+ Y1+
C2 Y3
Y5 Y7
SRCE
X10
AC100~240V
X2X0+24V OUT
S/S
X1+
X0- X1-
X4
X3 X5
X6
X7
X8
X9 X11
FBS-20MN
400mA
max.
IN
SINK
Y6Y4Y2Y1-Y0-
SG Y0+ Y1+
C2 Y3
Y5 Y7
SRCE
X10X2X0+24V OUT
S/S
X1+
X0- X1-
X4
X3 X5
X6
X7
X8
X9 X11
400mA
max.
IN
24VDC
FBS-20MN-D
z 32 point digital I/O main unit (20 points IN, 12 points OUT)
AC
Power
DC
Power
X0-
Y1+
Y0-
SG Y0+
AC100~240V
S/S
24V OUT
X0+
SINK
Y8 Y10Y6Y4Y3-Y2-Y1-
Y2+SG Y3+
C4
Y5 Y7
C8
Y9 Y11
SRCE
X1-
X1+ X2
X4-
X4+
X3
X5
+
X6
X5-
X8
X7 X9
X10
X11
X12 X16
X13
X14
X15
X18
X17 X19
FBS-32MN
400mA
max.
IN
X0-
Y1+
Y0-
Y0+
S/S
24V OUT
X0+
SINK
Y8 Y10Y6Y4Y3-Y2-Y1-
Y2+ Y3+
C4
Y5 Y7
C8
Y9 Y11
SRCE
X1-
X1+ X2
X4-
X4+
X3
X5
+
X6
X5-
X8
X7 X9
X10
X11
X12 X16
X13
X14
X15
X18
X17 X19
FBS-32MN-D
24VDC
max.
400mA
IN
SG0
z 44 point digital I/O main unit (28 points IN, 16 points OUT)
AC
Power
DC
Power
X19
Y11
Y10Y8Y6- Y7-Y4- Y5-Y3-Y2-Y0- Y1-
Y4+SG Y0+ Y1+ SG Y3+Y2+ SG
Y7+
SG
Y5+
Y6+ C8 Y9
X7
AC100~240V
X1-
24V OUT
S/S
X0-
X0+ X1+
X4-
X2
X3
X4+
X5-
X5+ X6
X12-X9-X8-
X8+ X9+
X11
X10 X12+
X15X13-
X13+ X14
X17
X16 X18
SINK
Y14Y12
SRCE
Y13C12 Y15
X27X23X21
X20 X22
X25
X24 X26
FBS-44MN
max.
400mA
IN
X19
Y11
Y10Y8Y6- Y7-Y4- Y5-Y3-Y2-Y0- Y1-
Y4+Y0+ Y1+ Y3+Y2+
Y7+Y5+
Y6+ C8 Y9
X7X1-
24V OUT
S/S
X0-
X0+ X1+
X4-
X2
X3
X4+
X5-
X5+ X6
X12-X9-X8-
X8+ X9+
X11
X10 X12+
X15X13-
X13+ X14
X17
X16 X18
SINK
Y14Y12
SRCE
Y13C12 Y15
X27X23X21
X20 X22
X25
X24 X26
FBS-44MN-D
24VDC
max.
400mA
IN
SG0
SG4
1.7.1 NC Control Main Unit

Other manuals for FATEK FBs-CM22

Related product manuals