EasyManua.ls Logo

FEDCO HPB-2800 - Basic Troubleshooting; Visual Inspection

Default Icon
29 pages
Print Icon
To Next Page IconTo Next Page
To Next Page IconTo Next Page
To Previous Page IconTo Previous Page
To Previous Page IconTo Previous Page
Loading...
HPB
TM
Series
© Copyright 2018 Fluid Equipment Development Company | www.fedco-usa.com
- 20 -
Basic Troubleshooting
If the booster does not operate properly, refer to the following troubleshooting charts as a guide
to determining the concern and identifying the potential cause. If after consulting the trouble-
shooting charts the cause is still undened, contact FEDCO technical support by e-mail
(techsupport@fedco-usa.com), telephone or fax. FEDCO will give you easy, step by step instruc-
tions on how to proceed.
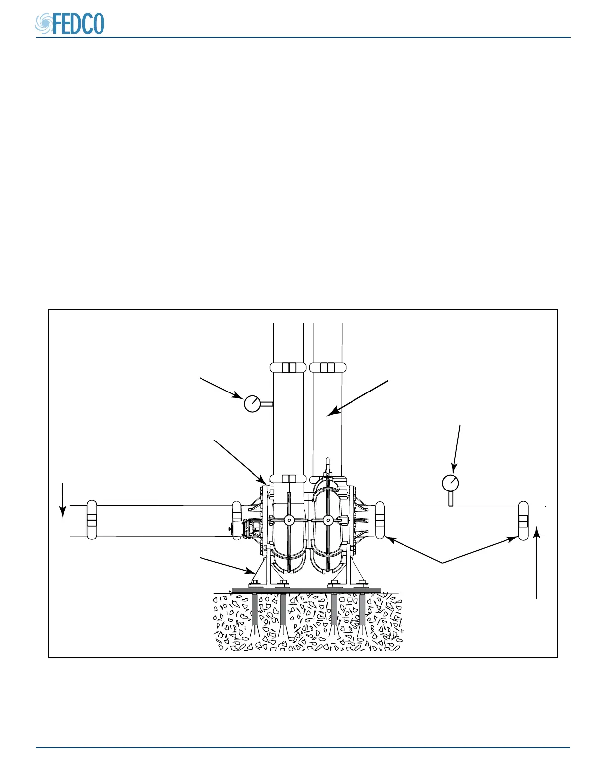
Visual Inspection
Make sure all items are accounted for on
the start up check list.
Inspect all high pressure booster piping.
Inspect the booster mountings for signs of
any movement or vibration.
Inspect pressure gauges, switches and all
other instrumentation for proper operation.
Record any unusual readings.
Figure 23 - HPB Basic Visual Inspection
Air Vented from System ?
Sufficient Output Pressure ?
Booster Leaking ?
Sufficient Input Pressure ?
Inlet Restrictions ?
Loose Mountings or
Signs of Movement ?
Discharge Restrictions ?
Inlet Piping Leaks ?