EasyManua.ls Logo

Feelworld F570 - 1.1 Button Instruction; Button Functions Overview

Feelworld F570
24 pages
Print Icon
To Next Page IconTo Next Page
To Next Page IconTo Next Page
To Previous Page IconTo Previous Page
To Previous Page IconTo Previous Page
Loading...
6
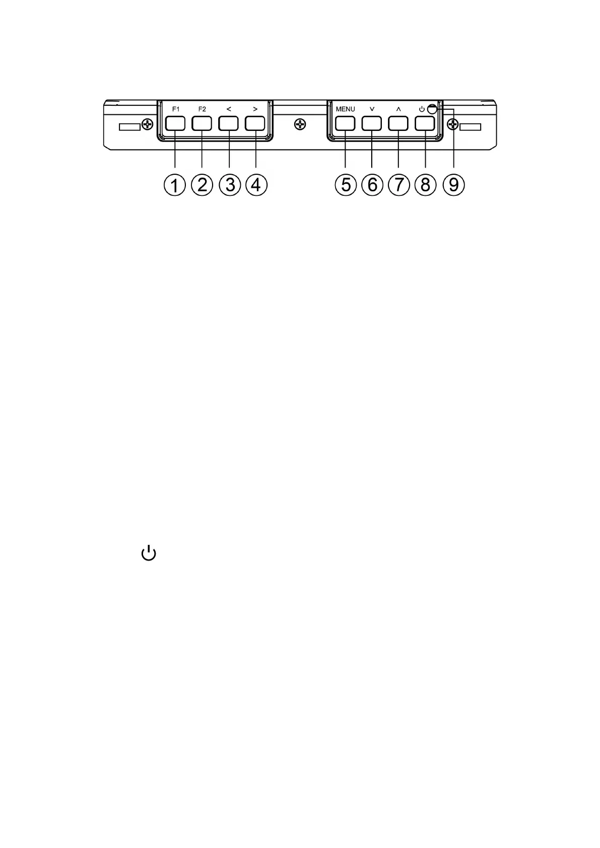
1.1 Button Instruction
. F1: Custom button, enter into the Secondary F menu of the
OSD Menu to set custom button according to your own habit.
. F2: Custom button, same setting as F1.
. <: Volume down, in menu operation it is the adjust button
for the set item.
④. >: Volume up, in menu operation it is the adjust button for
the set item.
⑤. MENU: Menu button.
⑥. : When enter into OSD operation, it is for the down item
selection.
⑦. : When enter into OSD operation, it is for the up item
selection.
⑧. : Power On/Off button
⑨. Power Indicator light: when power on/standby, it turns red;
when signal in, it turns green.

Related product manuals