EasyManua.ls Logo

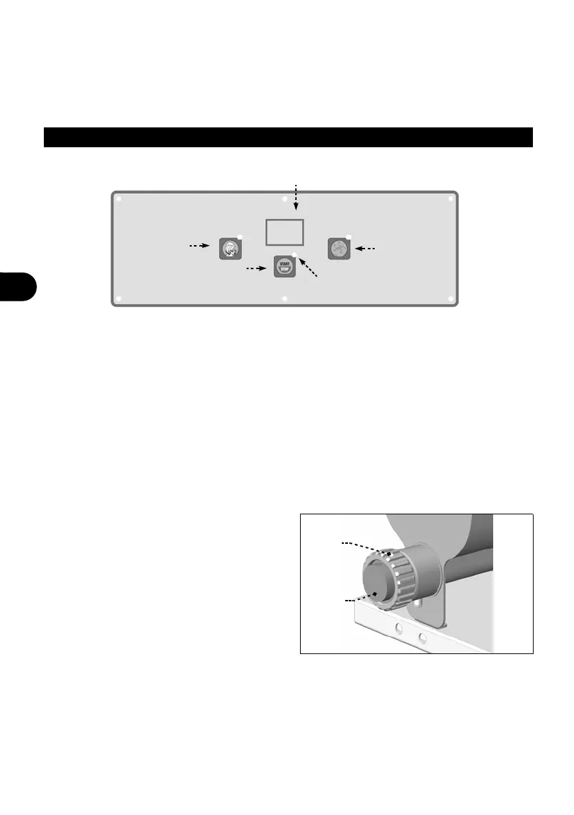
Fimar PF25E - Description des Commandes; Changement Tréfileuse Dextrusion

Fimar PF25E
Print Icon
To Next Page IconTo Next Page
To Next Page IconTo Next Page
To Previous Page IconTo Previous Page
To Previous Page IconTo Previous Page
Loading...

Table of Contents

Related product manuals