▬▬▬▬▬▬▬▬▬▬▬▬▬▬▬▬▬▬▬▬▬▬▬▬▬▬▬▬▬▬▬▬ PASTA FRESCA
ES
istruzioniIDM
- 10 - Idioma español
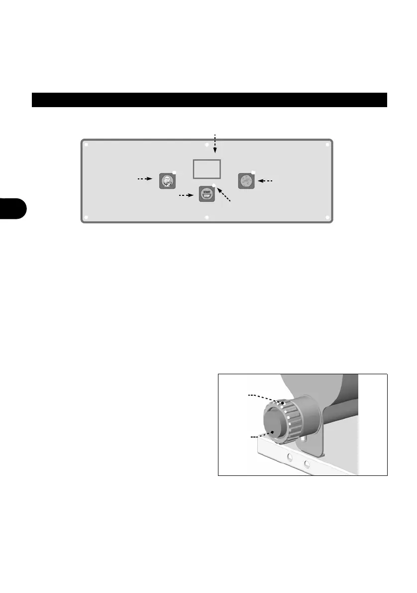
DESCRIPCIÓN DE LOS MANDOS
El aparato está equipado con los dispositivos de mando enumerados, necesarios para ac-
tivar sus funciones principales.
G) Botón: sirve para activar y desactivar el funcionamiento del aparato.
H) Botón: sirve para seleccionar el ciclo de amasado; presionado repetidamente sirve
para configurar el valor del temporizador.
I) Botón: sirve para seleccionar el ciclo de extrusión.
J) Display: sirve para visualizar el tiempo de amasado durante el ciclo de trabajo.
K) Indicador luminoso: encendido, indica que el aparato está alimentado eléctricamente.
CAMBIO DEL MOLDE DE EXTRUSIÓN
1. Desenrosque la virola (L).
2. Sustituya el molde de extrusión (M) con
el adecuado para el tipo de elaboración
que hay que efectuar.
3. Enrosque la virola (L).
L
M
IDM-34606300301.pdf
PF25E - PF40E
G
I
H
J
K