▬▬▬▬▬▬▬▬▬▬▬▬▬▬▬▬▬▬▬▬▬▬▬▬▬▬▬▬▬▬▬▬ PASTA FRESCA
DE
istruzioniIDM
- 10 - Deutsch
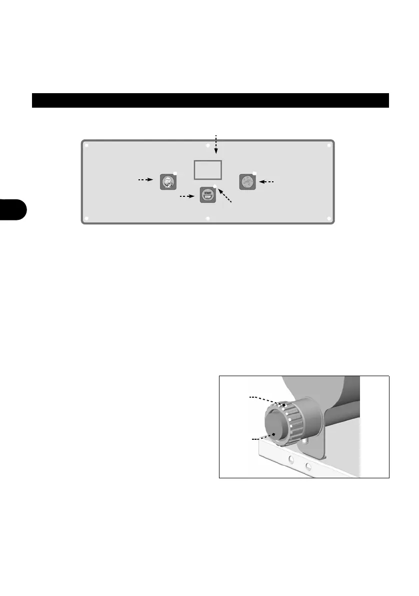
BESCHREIBUNG DER BEDIENELEMENTE
Das Gerät ist mit den aufgelisteten Bedienelementen, die zum Einschalten der Hauptfunk-
tionen notwendig sind, ausgestattet.
G) Taste: Mit ihr wird das Gerät ein- bzw. ausgeschaltet.
H) Taste: Mit ihr wird der Knetzyklus eingestellt. Durch mehrmaliges Drücken kann die Zei-
tschaltuhr (Timer) eingestellt werden.
I) Taste: Mit ihr wird der Teig-Ausgabezyklus eingestellt.
J) Display: Auf ihm wird während des Betriebs die Knetdauer angezeigt.
K) Kontrollleuchte: Wenn sie leuchtet, wird das Gerät mit Strom versorgt.
AUSWECHSELN DER MATRIZE
1. Den Ring (L) abschrauben.
2. Die Matrize (m) durch die gewünschte
austauschen.
3. Den Ring (L) wieder festschrauben.
L
M
IDM-34606300301.pdf
PF25E - PF40E
G
I
H
J
K