EasyManua.ls Logo

Finn B-40 - Page 28

Finn B-40
35 pages
Print Icon
To Next Page IconTo Next Page
To Next Page IconTo Next Page
To Previous Page IconTo Previous Page
To Previous Page IconTo Previous Page
Loading...
22
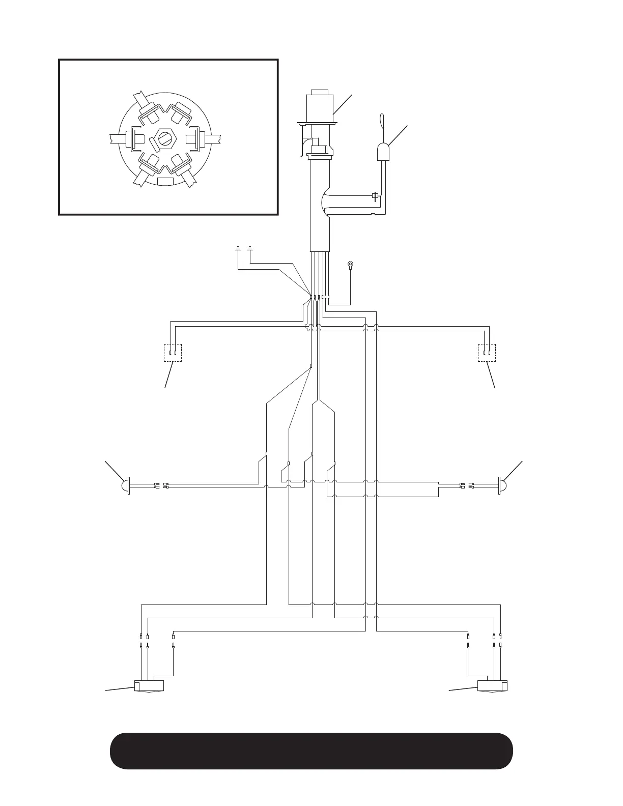
WHEN ORDERING PARTS, BE SURE TO STATE
SERIAL NUMBER OF MACHINE
B40 MUA2018 Rev A
1
4
23
4
Red
RIGHT TURN
(Green)
ELECTRIC BRAKES
(Black)
GROUND
(White)
LEFT TURN
(Yellow)
RUNNING LIGHTS
(Brown)
NOT USED
TRAILER PLUG CONNECTIONS
Black
Black
Red
White
Black
White
White
White
Brown
White
Brown
Black
White White
White
Yellow
Green
Brown
White
White
Brown
White White
Brown Brown
Yellow Green
Brown
White
Brown
White
Yellow
Green
Yellow
Green
BREAK-AWAY
SWITCH
BATTERY “+”
BRAKE BRAKE
White
Brown
Brown
Brown Black
White
Black
White

Related product manuals