EasyManua.ls Logo

Fiore FI310 - Page 15

Default Icon
24 pages
Print Icon
To Next Page IconTo Next Page
To Next Page IconTo Next Page
To Previous Page IconTo Previous Page
To Previous Page IconTo Previous Page
Loading...
14
15
Burner
ignition.
Cooktop Spark Ignition—When you turn the cooktop knob to LITE, the spark igniter makes a series of
electric
sparks (ticking sounds) which light the burner. During a power failure, the burners will not light automatically. In
an
emergency, a cooktop burner may be lit with a match by following the steps
below.
WARNING: Lighting gas burners with a match is dangerous. You should match light the cooktop burners only
in
an
emergency.
Light a match and hold the ame near the burner you want to light. Wooden matches work
best.
Push in and turn the control knob slowly. Be sure you are turning the correct knob for the burner you are
lighting.
NOTE: If the burner does not light within ve seconds, turn the knob off and wait one minute before trying
again.
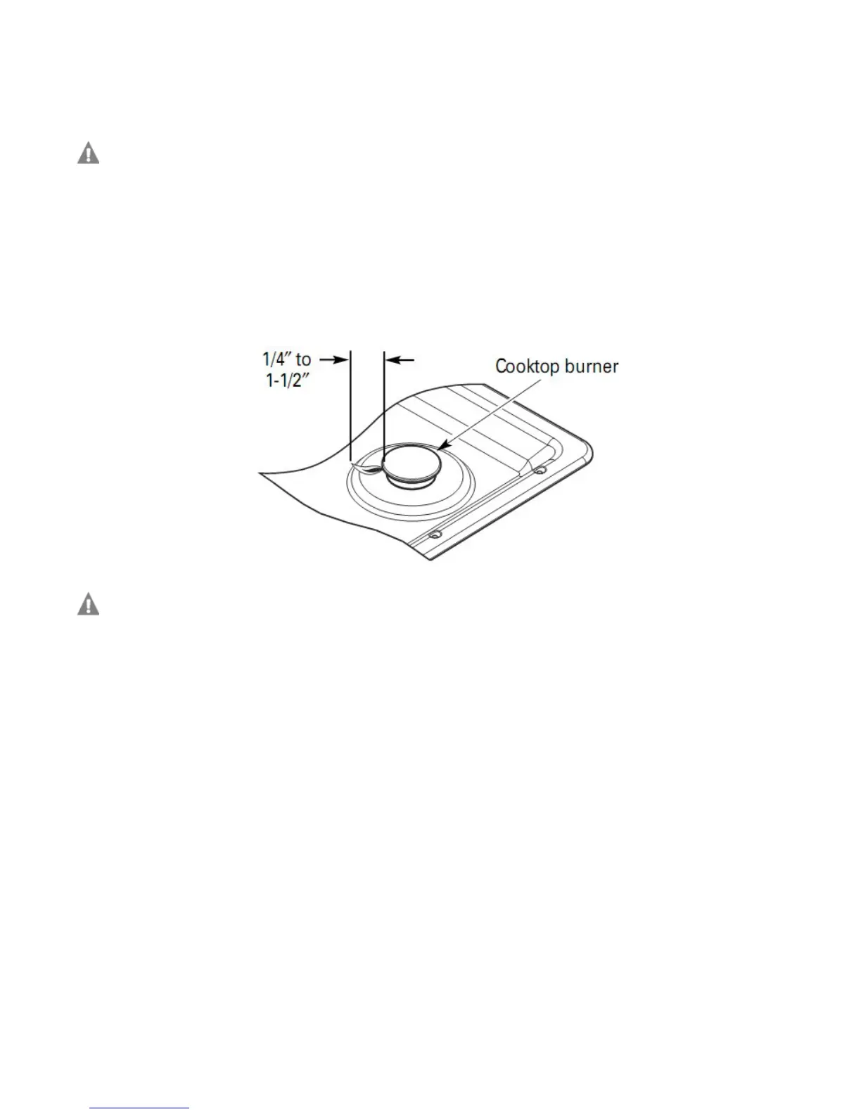
Turn on each burner. On LP models, ames should be blue in color but may have yellow tips. Natural gas
models
should have soft, blue ames. The burner ames should not utter or blow away from the burner. The ame
should
be no less than 1/4″ on the lowest setting and no greater than 1-1/2on highest
sett ing.
Burners should be checked
frequently.
WARNING: If you attempt to measure the ame, please use caution. Burns could
result.
OPER ATION
CHECKLIST
1. Make sure all controls are left in the OFF
position.
2. The serial plate for your cooktop is located on the bottom of the burner box. In addition to the model and serial
numbers,
it
tells you the ratings of the burners and the type of fuel and pressure the cooktop was adjusted for when it left the
factory.
3. When ordering parts, always include the serial number, model number and a code letter to ensure proper replacement
parts.
4. Check again to be sure all installation procedures have been
completed.