EasyManua.ls Logo

Firenzo KOMPACT - 7. TYPICAL INSULATION REQUIREMENTS

Default Icon
24 pages
Print Icon
To Next Page IconTo Next Page
To Next Page IconTo Next Page
To Previous Page IconTo Previous Page
To Previous Page IconTo Previous Page
Loading...
Kompact Guide Version 16/05/2013
11
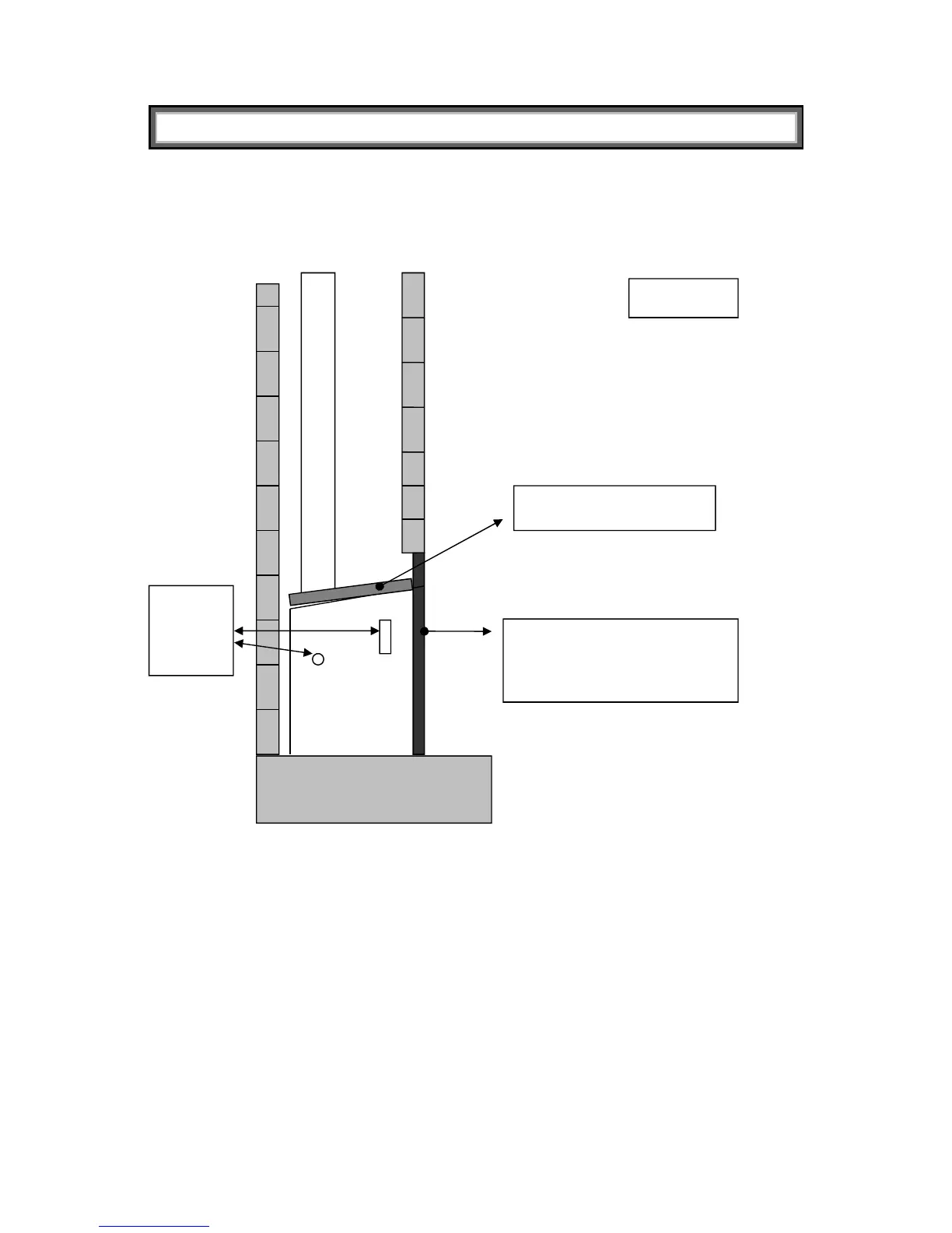
WHITE KAOWOOL BLANKET
PLACED ON TOP OF HEATER
YELLOW I.S.B INSULATION
PACKED BETWEEN HEATER
CANOPY AND MASONRY
ENCLOSURE MAX DEPTH OF
80MM. DO NOT COVER AIRPORTS.
Diagram 6
7. TYPICAL INSULATION REQUIREMENTS
AIRPORTS
INTO
HEATER
DO NOT
BLOCK

Related product manuals