EasyManua.ls Logo

Fisher 667 - Page 26

Fisher 667
36 pages
Print Icon
To Next Page IconTo Next Page
To Next Page IconTo Next Page
To Previous Page IconTo Previous Page
To Previous Page IconTo Previous Page
Loading...
Type 667 Size 30-76 & 87
26
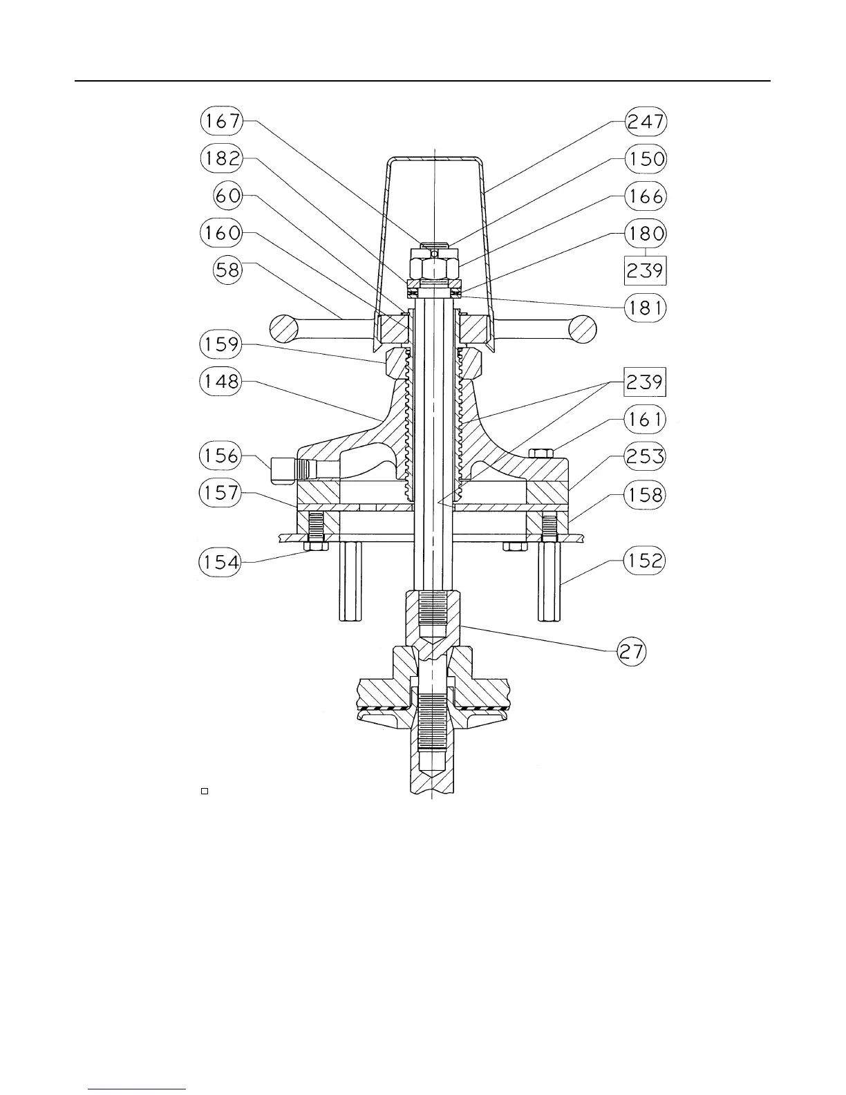
Figure 11. Top-Mounted Handwheel Assembly for Size 45-76 Actuators
APPLY LUBRICANT
33B9224-B / IL

Related product manuals