EasyManua.ls Logo

Fisher 9500 - Maintenance; Disassembly

Fisher 9500
14 pages
Print Icon
To Next Page IconTo Next Page
To Next Page IconTo Next Page
To Previous Page IconTo Previous Page
To Previous Page IconTo Previous Page
Loading...
Type 9500
6
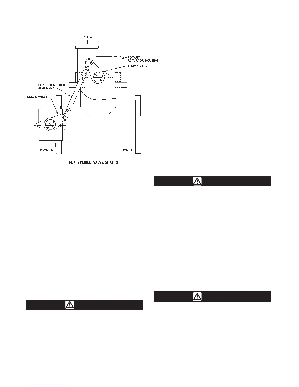
Figure 5. Tandem Linkage Adjustment for
Three-Way Valve Assemblies
B2144-1 / IL
Maintenance
Valve parts are subject to normal wear and must be
periodically inspected and replaced as necessary. The
frequency of parts inspection and replacement de-
pends upon the severity of service conditions. Due to
the care Fisher Controls takes in meeting all manufac-
turing requirements (heat treating, dimensional toler-
ances, etc.), use only replacement parts manufactured
or furnished by Fisher Controls. Instructions are given
below for complete disassembly and reassembly of
the valve.
Use Table 3 Troubleshooting Guide to locate and cor-
rect possible leakage or mechanical linkage problems
with the valve.
WARNING
Avoid personal injury from sudden re-
lease of process pressure. Before per-
forming any maintenance operations:
D Disconnect any operating lines pro-
viding air pressure, electric power, or a
control signal to the actuator. Be sure
the actuator cannot suddenly open or
close the valve.
D Use bypass valves or completely
shut off the process to isolate the valve
from process pressure. Relieve process
pressure on both sides of the valve.
Drain the process media from both
sides of the valve.
D Vent the power actuator loading
pressure and relieve any actuator spring
precompression.
D Use lock-out procedures to be sure
that the above measures stay in effect
while you work on the equipment.
1. Isolate the control valve from the line pressure, re-
lease pressure from both sides of the valve body, and
drain the process media from both sides of the valve.
Disassembly
Key numbers locations are shown in figure 7.
1. Loosen all flange studs or bolts. Remove all but the
bottom flange studs or bolts.
CAUTION
To avoid damage to the valve disk
caused by the disk hitting the mating
flange, be certain the disk is closed be-
fore removing the valve from the pipe-
line.
2. If necessary, pry flanges apart so that liner faces
will not be damaged when valve is being removed.
Inspect the disk (key 3) and liner (key 2) for wear or
damage.
3. Remove actuator from the valve. Follow instruc-
tions in the appropriate actuator instruction manual.
4. From both sides of valve, unscrew thrust-plate cap
screws (key 10) and remove thrust plates (key 9).
5. If taper pin (key 15) ends are peened, grind off
peened portions. Driving from smaller end of pins,
drive pins out of disk (key 3) and shaft (key 4).
CAUTION
Once the shaft has been removed, the
disk may fall from the valve body, caus-
ing personal injury or disk damage.
Support the disk before removing the
shaft.
6. Pull shaft out of the valve body. If the shaft cannot
be pulled from the valve body, drive the shaft out but
use care to avoid upsetting the end of the shaft.

Related product manuals