EasyManua.ls Logo

Fisher A11 - Lantern Rings; Lubrication Fittings and Purge Connectors; Seal Maintenance

Fisher A11
24 pages
Print Icon
To Next Page IconTo Next Page
To Next Page IconTo Next Page
To Previous Page IconTo Previous Page
To Previous Page IconTo Previous Page
Loading...
A11 Valve
10
HIGH PRESSURE
AT SHUTOFF
E0578 / IL
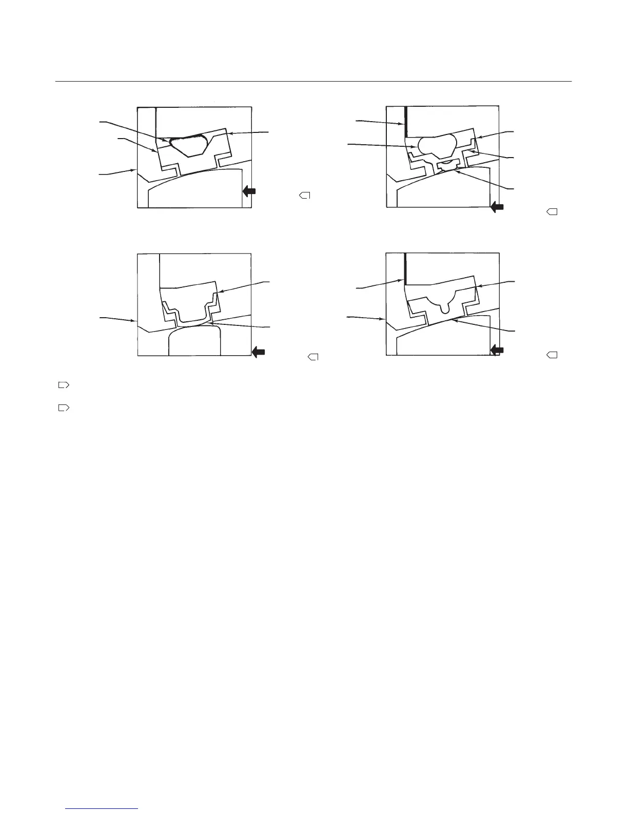
Figure 5. Seals
NOTES:
THIS UNIDIRECTIONAL SEAL MUST BE INSTALLED SO THAT THE RETAINING
RING IS DOWNSTREAM FROM THE HIGH PRESSURE SIDE OF THE VALVE AT
SHUTOFF, AS SHOWN.
FOR THIS BIDIRECTIONAL SEAL, THE “PREFERRED” VALVE ORIENTATION
PLACES THE RETAINING RING DOWNSTREAM FROM THE HIGH PRESSURE SIDE
OF THE VALVE AT SHUTOFF.
1
1
2
2
BACK-UP
RING
BACK-UP
RING
SEAL RING
RETAINING
RING
RETAINING
RING
RETAINING
RING
LARGEST
OUTSIDE
DIAMETER
LARGEST
OUTSIDE
DIAMETER
LARGEST
OUTSIDE
DIAMETER
LARGEST
OUTSIDE
DIAMETER
GRAPHITE
GASKET
GRAPHITE
GASKET
METAL
SEAL
RING
METAL
SEAL
RING
RESILIENT
INSERT
CRYOGENIC
SEAL RING
BODY
BODY BODY
BODY
VALVE DISC
VALVE DISC
VALVE DISC
VALVE DISC
SOFT SEAL WITH
BACK‐UP O‐RING
PHOENIX III
FIRE‐SAFE SEAL
NOVEX METAL SEAL
CRYOGENIC SEAL
HIGH PRESSURE
AT SHUTOFF
1
HIGH PRESSURE
AT SHUTOFF
1
HIGH PRESSURE
AT SHUTOFF
3. Before installing new packing, clean the packing
bore.
4. Install new packing one ring at a time, using the
packing follower as a driver. If split packing is used,
stagger seams every 90_.
5. Reinstall the packing follower and packing flange,
secure nuts, and tighten as needed.
Lantern Rings
Valves only have lantern rings if they are provided
with purge fittings or lubrication fittings. Lantern rings
are located either at the bottom of the packing or
central packing area as noted in figure 8.
Lubrication Fittings and Purge
Connectors
These connections and/or fittings are located on the
lower gasket retainer and packing area of valve
bodies. They are normally either 1/8 inch NPT or 1/4
inch NPT.
Seal Maintenance
1. After the valve has been removed from the line
and the manual or power actuator has been
removed, manually rotate the shaft (key 4)
counter-clockwise until the disc has moved a
full 180_. Note that the ”S” on the shaft is 180_ from
the ”S” on the valve body.
2. Lay the valve flat on a work bench in a secure
position with the retaining ring (key 2) and retaining
ring screws (key 22) facing up. Use blocks or other
appropriate techniques to support the valve.
Remove all retaining ring screws.
3. Remove the retaining ring by placing a retaining
ring screw in each of the two retaining ring jack
screw holes. With the appropriate tool, slowly rotate
the screws until the retaining ring has been lifted
from the valve body.

Related product manuals