EasyManua.ls Logo

Flow Safe F88 Series - Page 14

Flow Safe F88 Series
15 pages
Print Icon
To Next Page IconTo Next Page
To Next Page IconTo Next Page
To Previous Page IconTo Previous Page
To Previous Page IconTo Previous Page
Loading...
INSTALLATION, OPERATION, &
MAINTENANCE MANUAL
TITLE: F88 Series Safety Relief Valve Rev. D Page 14 of 15
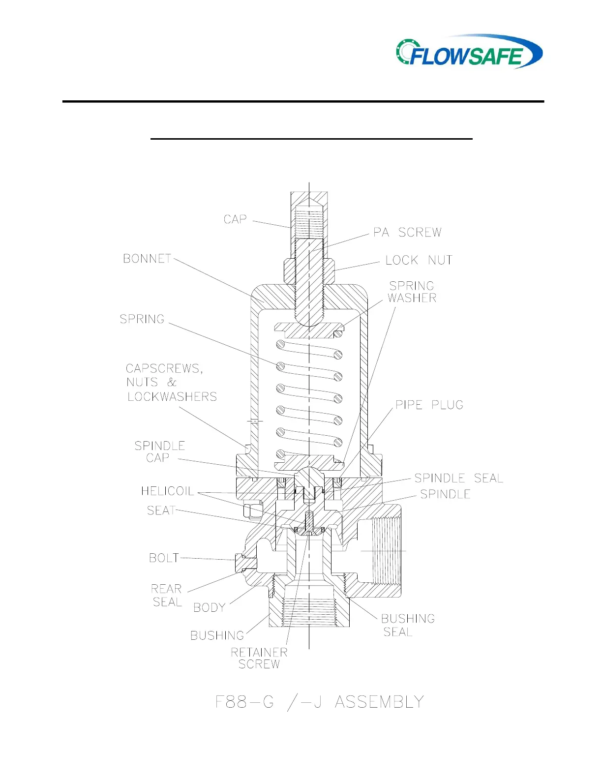
F88 SERIES VALVE ASSEMBLY ILLUSTRATIONS
(continued)

Related product manuals