EasyManua.ls Logo

Fluke Versiv - Connectors, Keys, and Leds

Fluke Versiv
377 pages
Print Icon
To Next Page IconTo Next Page
To Next Page IconTo Next Page
To Previous Page IconTo Previous Page
To Previous Page IconTo Previous Page
Loading...
Versiv Series Cabling Certification Product Family
Users Manual
30
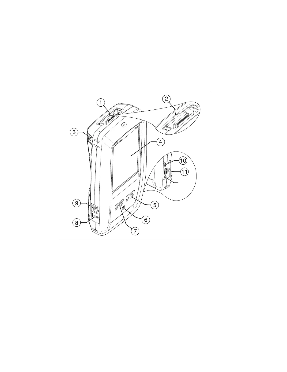
Connectors, Keys, and LEDs
GPU88.EPS
Figure 7. Main Tester Connectors, Keys, and LEDs (Versiv 2 shown)
L
DSX-8000
www.GlobalTestSupply.com
Find Quality Products Online at: sales@GlobalTestSupply.com

Table of Contents

Other manuals for Fluke Versiv

Related product manuals