EasyManua.ls Logo

FMI DVF36 - High Altitude Installation; Parts List for FMI Venting Kits

Default Icon
36 pages
Print Icon
To Next Page IconTo Next Page
To Next Page IconTo Next Page
To Previous Page IconTo Previous Page
To Previous Page IconTo Previous Page
Loading...
www.fmiproducts.com
56131J 19
VENTING INSTALLATION
Continued
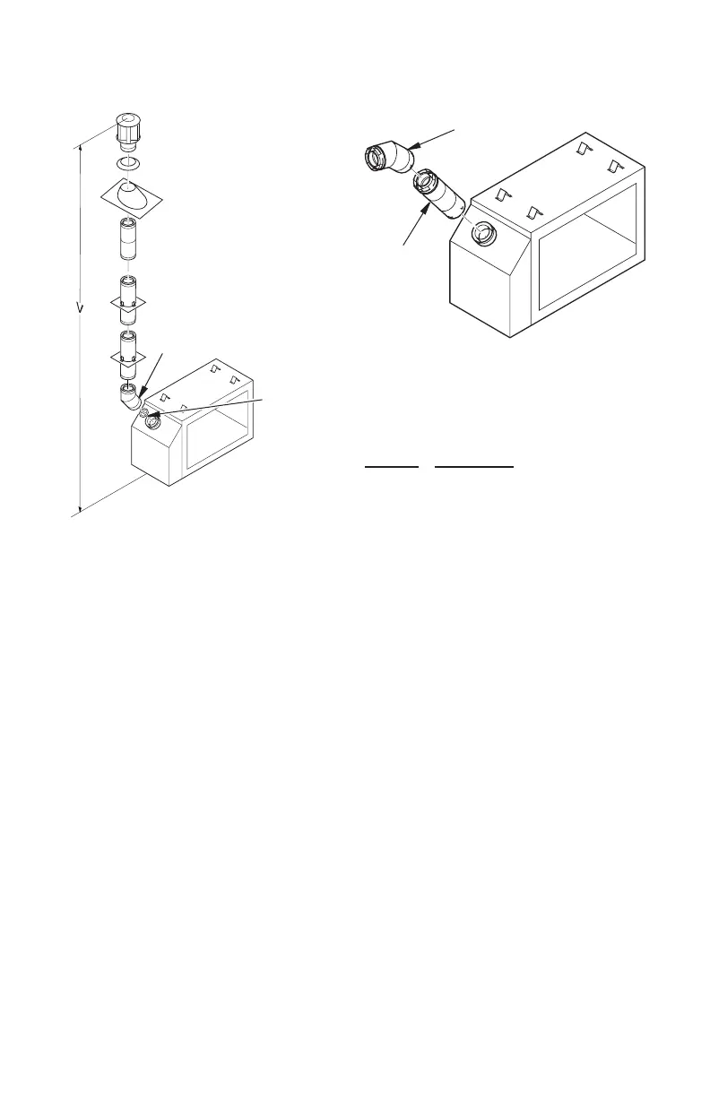
Figure 32 - Vertical Rigid Venting
Conguration With No Horizontal Run

V = 40' max.

AND COMPONENTS

 
VKR-58 Ro of Vent Ki t, G al va ni ze d
(Includes: 45° Elbow, 7"-12"
Adjustable Pipe, Flue Restrictor,
Vertical High Wind Termination, 2'
Pipe, 4' Pipe, Wall Firestop, Storm
Collar, Roof Flashing [0/12 - 6/12],
26 Screws)
VKB-58 Basement Vent Kit, Galvanized
(Includes: 45° Elbow, 7"-12"
Adjustable Pipe, Wall Firestop,
Horizontal Square Termination, 4'
Pipe, 90° Elbow, 20 Screws)
VKS-58 Snorkel Vent Kit, Galvanized
(Includes: 45° Elbow, 7"-12" Ad-
justable Pipe, Wall Firestop, 36"
Snorkel Termination, 4' Pipe, 1'
Pipe, 90° Elbow, 26 Screws)
VKG-58 Ground Floor Vent Kit, Galva-
nized (Includes: 45° Elbow, 7"-12"
Adjustable Pipe, Wall Firestop,
Horizontal Square Termination, 16
Screws)
P58-48 48" Section Double Wall Pipe,
Galvanized
P58-36 36" Section Double Wall Pipe,
Galvanized
P58-24 24" Section Double Wall Pipe,
Galvanized
P58-12 12" Section Double Wall Pipe,
Galvanized
P58-6 6" Section Double Wall Pipe, Gal-
vanized
HIGH ALTITUDE INSTALLATION
Your FMI PRODUCTS, LLC direct-vent
replace has been tested and approved for
elevations from 0-2,000 feet (USA).
Fireplaces for High Altitude (models ending
in -HA) are for installation above 4,000 feet
only. These replaces are equipped with parts
specic for higher altitudes. IMPORTANT:
These replaces can NOT be converted to
propane/LP gas.
When installing a non-high altitude replace at
an elevation above 2,000 feet (USA), you may
need to decrease the input rating by changing
the existing burner orice to a smaller size.
Reduce input 4% for each 1,000 feet above
sea level. Check with your local gas company
for proper orice size identication.
IMPORTANT: For horizontal installations



Figure 33 - Recommended 12" Extension
for High Altitude Installation
45° Starter
Elbow
Note: Install
restrictor into
inner collar
of replace
as shown.
45° Starter
Elbow
12"
Extension

Related product manuals