EasyManua.ls Logo

Frontier ST0726 - Page 56

Frontier ST0726
60 pages
Print Icon
To Next Page IconTo Next Page
To Next Page IconTo Next Page
To Previous Page IconTo Previous Page
To Previous Page IconTo Previous Page
Loading...
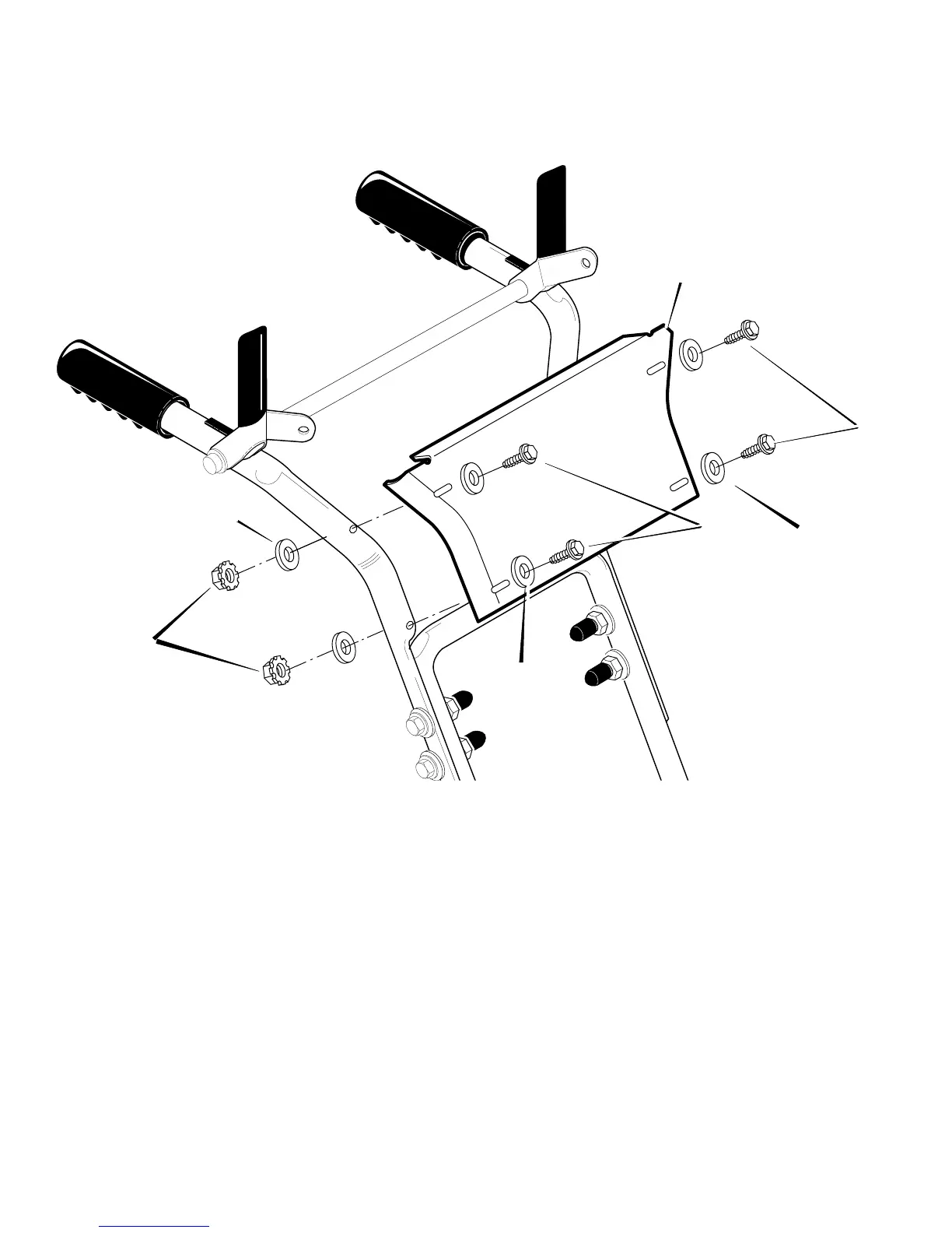
FRONTIER MODEL ST0726 FACTORY MODEL 626750x16C
56
MTF051056L
CONTROL PANEL
770
771
771
772
773
772
772
Key No. Part No. Description
770 MT1501203E511 PANEL
771 MT002x99 BOLT, CARRIAGE
772 MT71067 WASHER
773 MT15x145 NUT

Related product manuals