EasyManua.ls Logo

Fujitsu AOYG72LRLA - 5-3. Slim duct type; Model: ARYG18 LLTB

Fujitsu AOYG72LRLA
343 pages
Print Icon
To Next Page IconTo Next Page
To Next Page IconTo Next Page
To Previous Page IconTo Previous Page
To Previous Page IconTo Previous Page
Loading...
5-3. Slim duct type
¢
Model: ARYG18LLTB
NOTE: This data is measured after installing optional Auto louver grille kit.
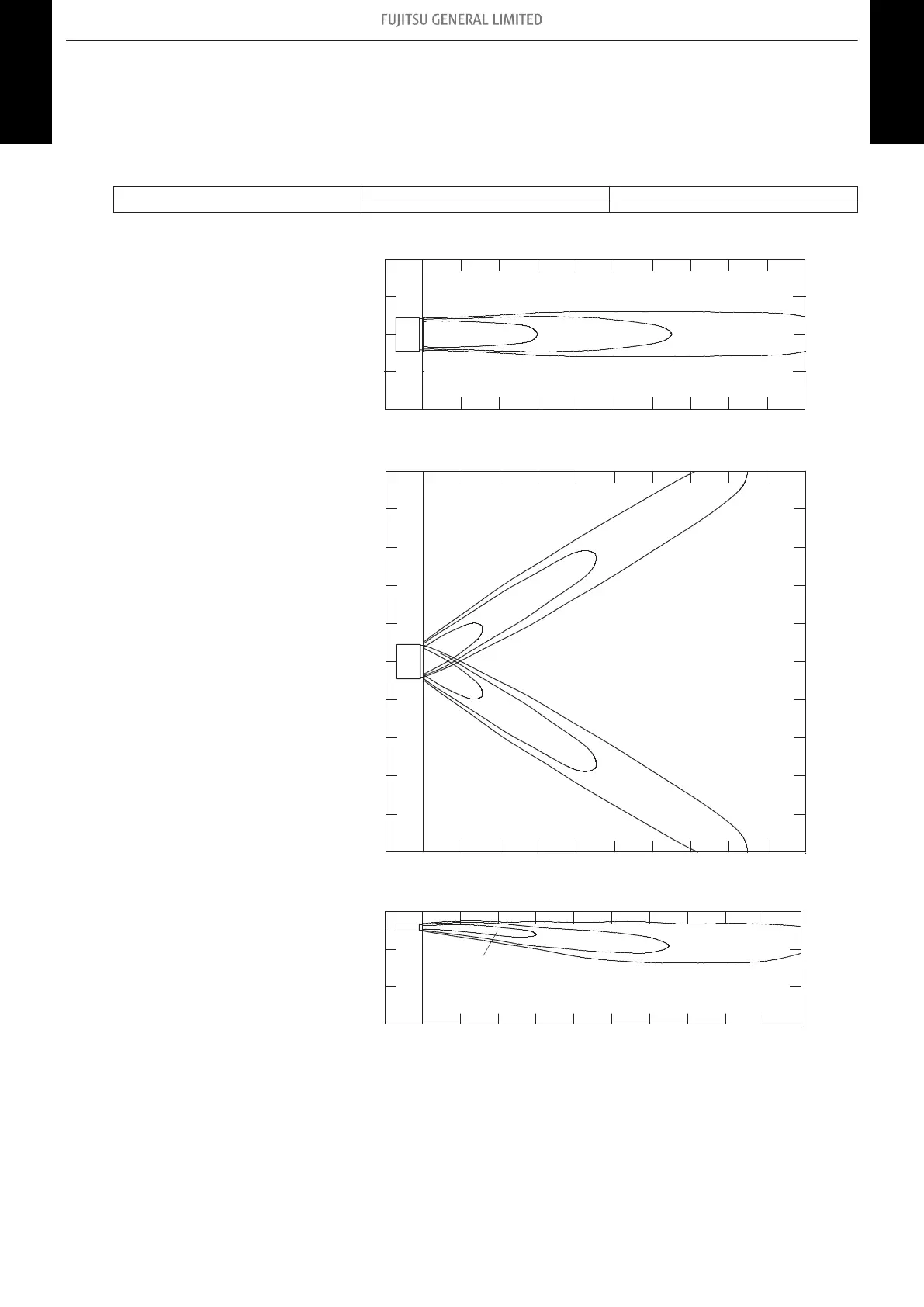
Air velocity distribution
Measuring conditions
Fan speed Operation mode
HIGH FAN
Top view
Vertical airflow direction louver: Up
Horizontal airflow direction louver: Center
2
1
0
1
2
(m)
Unit: m/s
(m)
0
1 2 3
4 5 6
7 8 9
10
2
1
0.5
Top view
Vertical airflow direction louver: Up
Horizontal airflow direction louver: Left & Right
2
1
0
1
2
(m)
(m)
Unit: m/s
0
1 2 3
4 5 6
7
5
4
3
8 9
10
5
4
3
2
1
0.5
2
1
0.5
Side view
Vertical airflow direction louver: Up
Horizontal airflow direction louver: Center
2
1
0
(m)
Unit: m/s
(m)
0
1 2 3
4 5 6
7 8 9
10
2.5
3
1
0.5
2
- 42 -
5-3. Slim duct type 5. Air velocity and temperature distributions
INDOOR UNITS
SIMULTANEOUS
MULTI
INDOOR UNITS
SIMULTANEOUS
MULTI

Table of Contents