EasyManua.ls Logo

Fujitsu AU*24LUAR - Refrigerant Circuit

Fujitsu AU*24LUAR
162 pages
Print Icon
To Next Page IconTo Next Page
To Next Page IconTo Next Page
To Previous Page IconTo Previous Page
To Previous Page IconTo Previous Page
Loading...
03-01
Ø15.88mm(5/8")
Ø9.52mm(3/8")
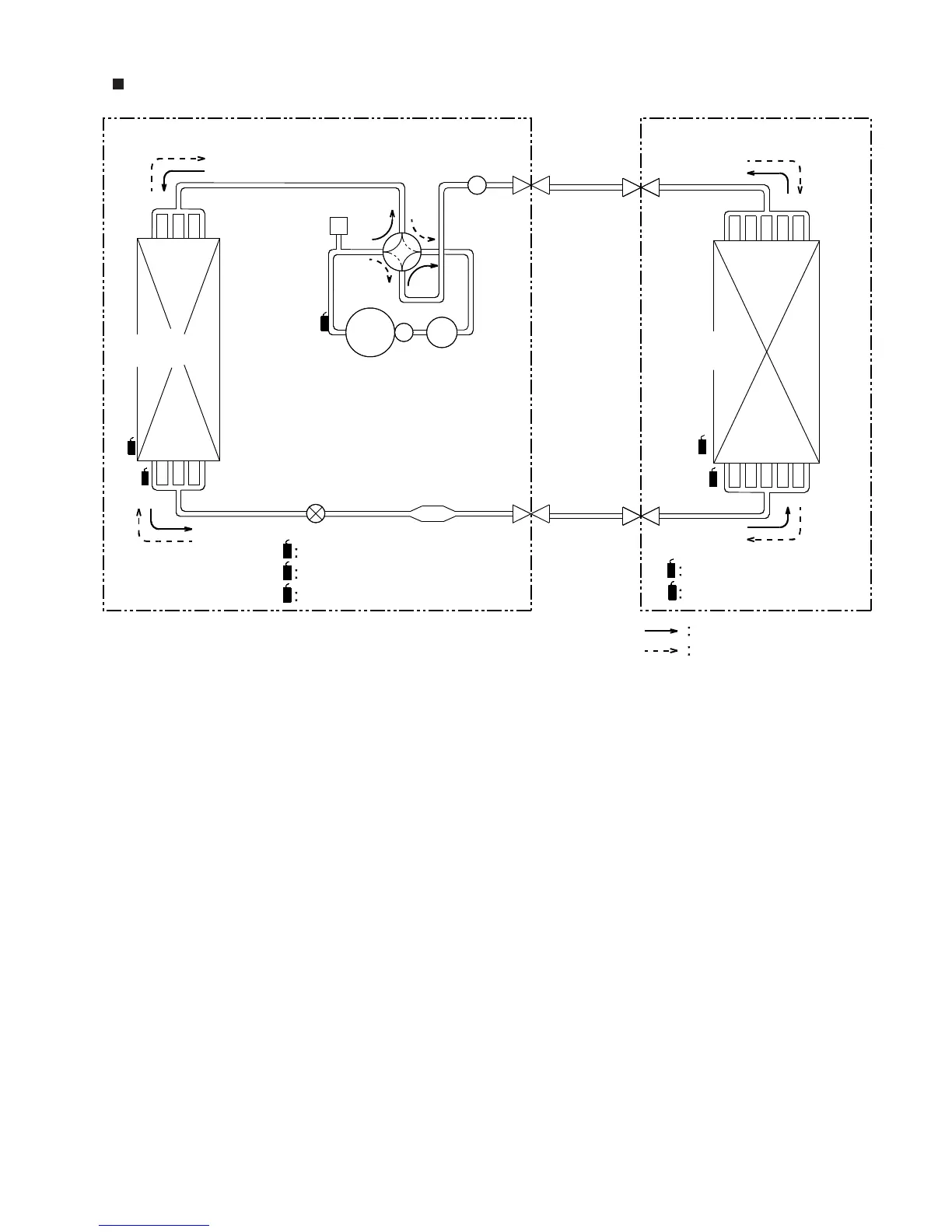
3. REFRIGERANT CIRCUIT
MODEL : AU*24LUAR / AO*24LMAKL
Outdoor Unit Indoor Unit
CONDENSER EVAPOLATOR
HIGH
PRESSURE
SWITCH
THO
THO
THPO
THD
THR
THR
THPI
THPI
THD
THPO
COMPRESSOR
ACCUMULATOR
EXPANSION
VALVE
STRAINER
MUFFLER
4-Way
valve
THERMISTOR(DISCHARGE TEMP.)
THERMISTOR(ROOM TEMP.)
THERMISTOR(PIPE TEMP.)
THERMISTOR(OUTDOOR TEMP.)
THERMISTOR(PIPE TEMP.)
Refrigerant Pipe
Refrigerant Pipe
COOL
HEAT

Table of Contents

Related product manuals