EasyManua.ls Logo

Fujitsu AU*24LUAR - Defrost Operation Control

Fujitsu AU*24LUAR
162 pages
Print Icon
To Next Page IconTo Next Page
To Next Page IconTo Next Page
To Previous Page IconTo Previous Page
To Previous Page IconTo Previous Page
Loading...
05-15
2. CONDITION OF THE DEFROST OPERATION COMPLETION
Defrost operation is released when the conditions become as shown in Table 10-1.
(Table 10-1 : Defrost Release Condition)
Release Condition
Outdoor heat exchanger temperature sensor value is higher than 10°C or
Compressor operation time has passed 15 minutes.
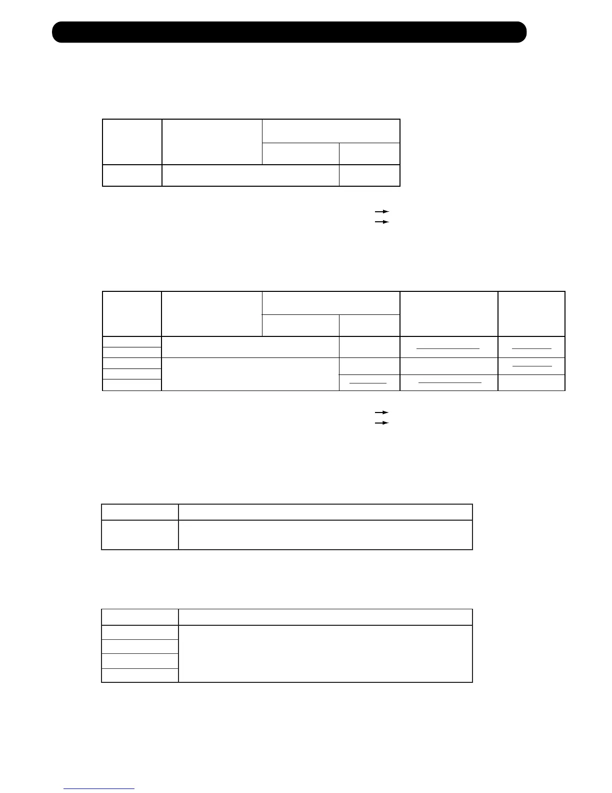
5-17. DEFROST OPERATION CONTROL
1. CONDITION OF STARTING THE DEFROST OPERATION
The defrost operation starts when the outdoor heat exchanger temperature sensor detects
the temperature lower than the values shown in Table 9-1.
(Table 9-1 : Condition of starting Defrost Operation)
Less than 6 min. *1
or 10min. *2
AU*24LUAR
AU*24LUAR
*2. Compressor stop time: Below 20min. Select 6min.
Above 20min. Select 10min.
After 6 min. *1
or 10min. *2
Compressor integrating
operation :Less than 40min.
Compressor integrating
operation :40min and over
-8°C
Does not operate
*1. It means contiguous operation time.
1-1. For AU*24LUAR
2-1. For AU*24LUAR
Defrost operation is released when the conditions become as shown in Table 10-2.
(Table 10-2 : Defrost Release Condition)
Release Condition
Outdoor heat exchanger temperature sensor value is higher than 12°C or
Compressor operation time has passed 15 minutes.
2-2. For AU*30/ 36/ 45/ 54LUAS
1-2. For AU*30/ 36/ 45/ 54LUAS
The defrost operation starts when the outdoor heat exchanger temperature sensor detects
the temperature lower than the values shown in Table 9-2.
(Table 9-2 : Condition of starting Defrost Operation)
Less than 6 min. *1
or 10min. *2
AU*30LUAS
AU*36LUAS
AU*45LUAS
AU*54LUAS
AU*30LUAS
AU*36LUAS
AU*45LUAS
AU*54LUAS
*3. Outdoor temp. > -1°C
*4. Outdoor temp. < -1°C
*2. Compressor stop time: Below 20min. Select 6min.
Above 20min. Select 10min.
After 6 min. *1
or 10min. *2
Compressor integrating
operation :Less than 45min.
Compressor integrating
operation :45min and over
-8°C *3
-10°C *4
-8°C *3
-10°C *4
Does not operate
Does not operate
=
Outdoor temp. -
Outdoor heat exchanger
temp.
Outdoor heat
exchanger temp.
12 degC
-20°C
*1. It means contiguous operation time.

Table of Contents

Related product manuals