EasyManua.ls Logo

Fujitsu AU*24LUAR - Page 18

Fujitsu AU*24LUAR
162 pages
To Next Page IconTo Next Page
To Next Page IconTo Next Page
To Previous Page IconTo Previous Page
To Previous Page IconTo Previous Page
Loading...
03-03
Ø15.88mm(5/8")
Ø9.52mm(3/8")
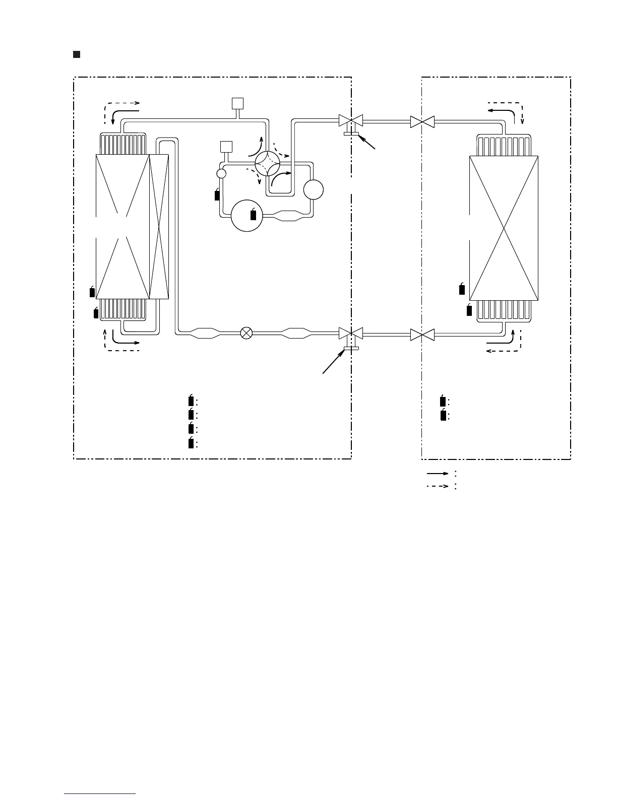
MODEL : AU*45/ 54LUAS / AO*45/ 54LJBYL
Outdoor Unit Indoor Unit
CONDENSER
HIGH PRESSURE
SWITCH
PRESSURE
CHECK VALVE
THO
THO
THC
THPO
THD
THR
THPI
THR
THPI
THD
THC
THPO
COMPRESSOR
ACCUMULATOR
EXPANSION
VALVE
STRAINER
STRAINER STRAINER
4-Way
valve
THERMISTOR(DISCHARGE TEMP.)
THERMISTOR(ROOM TEMP.)
THERMISTOR(PIPE TEMP.)
THERMISTOR(OUTDOOR TEMP.)
THERMISTOR(PIPE TEMP.)
THERMISTOR(COMP TOP TEMP.)
Refrigerant Pipe
Refrigerant Pipe
COOL
HEAT
EVAPOLATOR
Charging Valve
Charging Valve
MUFFLER

Table of Contents

Related product manuals