EasyManua.ls Logo

FUTABA FP-8SGAP - Suggestions on ATV, D;R. and VTR

FUTABA FP-8SGAP
38 pages
Print Icon
To Next Page IconTo Next Page
To Next Page IconTo Next Page
To Previous Page IconTo Previous Page
To Previous Page IconTo Previous Page
Loading...
•SUGGESTIONS ON ATV, D/R, AND VTR
POINTS TO REMEMBER (ATV, D/R, VTR)
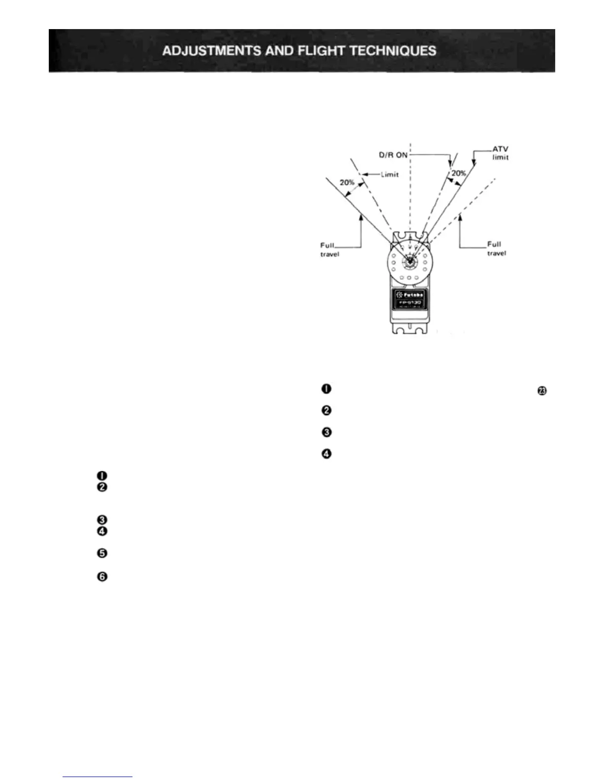
•Servo maximum deflection is always determined
by ATV. If no ATV is set, maximum travel is
governed by the servo itself and is approximately
45 degrees in each direction from neutral.
•When Dual Rate is ON, servo travel in each
direction is reduced by the same percentage
(adjustable using D/R trimmers). For example,
in Fig. 43 one direction has been limited using
ATV. Both sides are reduced 20% when D/R is
ON. In other words, the ratio of UP to Down
will be maintained when D/R is ON or OFF.
VTR operates only when D/R is set to OFF po-
sition (LINEAR/VTR switch must also be set to
VTR position).
•Servo tracking is always LINEAR when Dual
Rate is ON (regardless of LINEAR/VTR switch).
Fig.
43
SUGGESTIONS
VTR is useful when different throw rates are
desired for different portions of the same ma-
neuver or when there may be insufficient time
between maneuvers for changing rate switches
manually such as in the FAI F3A or "Turn-
around" Pattern event.
•When preparing to test fly a new model, if you
are unsure as to the amount of Aileron deflec-
tion needed, set up as follows.
LINEAR/VTR switch 3. on LINEAR
Aileron D/R I at best estimate of desired
throw for normal flying or deflection speci-
fied on aircraft plans.
Aileron D/R 2 less movement than D/R (1)
D/R OFF set to provide somewhat more
throw than specified.
Set Ail. D/R Switch 14 to 1, position for
takeoff.
If aileron response is not comfortable, it can
easily be increased or decreased while air-
borne.
Aileron LINEAR/VTR Switch [3]
set to
LINEAR.
Adjust D/R I to give 3 rolls in approxi-
mately 5 seconds.
Use ATV to adjust for a fast roll rate when
D/R Switch 14 is OFF.
Adjust D/R 2 for slow roll (1 roll in 5
seconds).
OR
Same as above except Aileron LINEAR/
VTR Switch [3] set to VTR position.
Try this set-up for AMA Pattern:

Related product manuals