EasyManua.ls Logo

FUTABA FP-8SGAP - Page 30

FUTABA FP-8SGAP
38 pages
Print Icon
To Next Page IconTo Next Page
To Next Page IconTo Next Page
To Previous Page IconTo Previous Page
To Previous Page IconTo Previous Page
Loading...
NOTE:
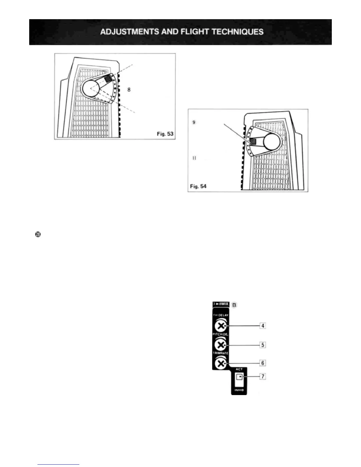
When lowering lever 8 , be careful that the pitch
does not go negative. This is adjusted during flight.
For example, flight is affected by the temperature,
air pressure, wind, and other conditions. Use this
lever adjusting the speed, pull, etc. to your liking.
Also select the engine tone quality by adjusting
the propeller pitch. Make quiet flights by fine ad-
justing the propeller pitch.
Next, adjust the throttle. First, set switch II to
the OFF position. Adjust the engine idling speed
to 2,200~2,500 rpm with the throttle trim lever
19 . Then set switch II to the ON position and
set the throttle lever to the maximum slow (zero
pitch) position. Adjust idle up lever 9 for an
engine speed of 3000 ~ 4000 rpm. Lever 9 is
inoperative when switch II is in the OFF posi-
tion. Use the variable pitch propeller as an air
brake during dives.
Pitch zero does not have an air braking affect. If
the engine is running at a speed of 3000 ~ 4000
rpm, the air braking effect will not appear if the
propeller diameter is too small.
Adjust the throttle so the pitch is positive and the
engine idles when switch II is set to the OFF
position. Since lever 8 is also operative in this
state, optimum pitch adjustment is possible.
Idle up lever
Operation when switch
is
ON
NOTES:
• The pitch always becomes maximum when the
throttle switch is set to HIGH.
•The
speed
cannot
be
increased
with
the idle up
lever 9 when the propeller pitch is zero.
• Since the air braking effect is higher than normal
when landing at zero propeller pitch, be careful
until you become familiar with the setting.
• Best result is often obtained by making the
tuned pipe longer.
Pitch 8-9
Pitch control
high side trimmer
Pitch 11
(maximum)
VARIABLE PITCH PROPELLER AND ENGINE
POWER MATCHING IS ESSENTIAL FOR MAXIMUM PERFORMANCE
If
the throttle stick is operated quickly during
flight, the engine will make an abnormal sound
(sputter). If the engine sound remains unnatural,
the pitch control or throttle servo operation tim-
ing can be delayed.
When the throttle lever is suddenly moved from a
high speed to a low speed, the throttle operates
before the propeller pitch changes to zero. If the
throttle lever is moved from HIGH to SLOW, the
pitch will change before the throttle operates.
Set the throttle delay time with trimmer [4] and
the pitch delay time with trimmer [5] . This
provides the same feeling as fixed propeller aircraft
andallows natural flight.
Fig.
55

Related product manuals