EasyManua.ls Logo

Future light MH - 640 - Page 17

Future light MH - 640
Print Icon
To Next Page IconTo Next Page
To Next Page IconTo Next Page
To Previous Page IconTo Previous Page
To Previous Page IconTo Previous Page
Loading...
17
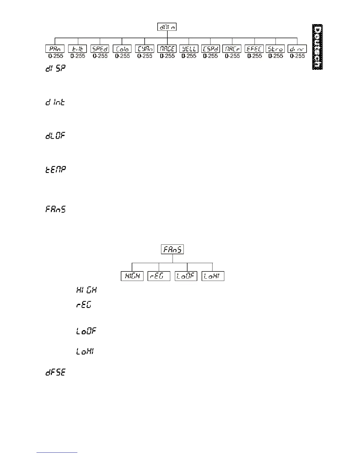
- Automatische Displayabschaltung:
Mit dieser Funktion lässt sich einstellen, dass das Gerät das Display nach 2 Minuten automatisch abschaltet
wenn keine Taste mehr gedrückt wurde. Drücken Sie die Up-/Down-Tasten, um „ON“ oder „OFF“
einzustellen. Drücken Sie die Enter-Taste zur Bestätigung oder die Mode-Taste, um abzubrechen.
- Displaybeleuchtung:
Mit dieser Funktion können Sie die Displaybeleuchtung zwischen 20 und 100 einstellen. Drücken Sie die Up-
/Down-Tasten, um den Grad der Displaybeleuchtung einzustellen. Drücken Sie die Enter-Taste zur
Bestätigung oder die Mode-Taste, um abzubrechen.
- Lampe über DMX abschalten:
Mit dieser Funktion lässt sich die Lampenschaltung über DMX deaktivieren. Drücken Sie die Up-/Down-
Tasten, um „ON“ (Lampe über DMX abschalten) oder „OFF“ (Lampe nicht über DMX abschalten)
einzustellen. Drücken Sie die Enter-Taste zur Bestätigung oder die Mode-Taste, um abzubrechen.
- Temperatur
Temperaturangabe im Inneren des Projektors in Grad Celsius. Die normale Betriebstemperatur sollte unter
70° C liegen. 70° Innentemperatur und mehr sind bereits als kritisch zu bewerten und führen zur
Abschaltung der Lampe. Bitte beachten Sie, dass die Umgebungstemperatur niemals über 45° C liegen
sollte, damit eine ausreichende Kühlung gewährleistet ist.
- Regelung der Lüftergeschwindigkeit
Mit dieser Funktion lässt sich die Lüftergeschwindigkeit über vier verschiedene Modi regeln. Mit den Up-
/Down-Tasten können Sie den gewünschten Modus „HIGH, reG, Lo.HI, Lo.OF“ auswählen. Drücken Sie die
Enter-Taste zur Bestätigung oder die Mode-Taste, um abzubrechen.
- Lüftergeschwindigkeit maximal
Der Projektor wird mit maximaler Lüfterleistung gekühlt.
- automatische Anpassung der Lüftergeschwindigkeit
Ab einer gewissen Temperatur wird die Lüftergeschwindigkeit automatisch erhöht, um einen
Ausfall des Gerätes zu verhindern. Diese Automatik kann sich bis zu sieben Mal wiederholen,
bis die Innnentemperatur wieder ein unkritischen Niveau erreicht hat.
- Lüftergeschwindigkeit niedrig/maximal
Die Lüftergeschwindigkeit bleibt so lange niedrig, bis die Innentemperatur des Projektors den
Maximalwert erreicht hat. Der Projektor schaltet dann automatisch auf maximale Lüfterleistung.
- Lüftergeschwindigkeit niedrig/Lampenabschaltung
Die Lüftergeschwindigkeit bleibt so lange niedrig, bis die Innentemperatur des Projektors den
Maximalwert überschritten wird. Der Projektor schaltet dann automatisch die Lampe ab.
- Voreinstellungen
Mit dieser Funktion lassen sich alle Individualdaten des Projektors auf die Voreinstellungen ab Werk
zurücksetzen. Drücken Sie die Enter-Taste, um die Werte zurückzusetzen. Auf dem Display erscheint “rSt”.
Die einzelnen Voreinstellungen entnehmen Sie bitte unten stehender Tabelle.

Table of Contents

Other manuals for Future light MH - 640

Related product manuals