EasyManua.ls Logo

Future light MH - 640 - Montage du Projecteur

Future light MH - 640
Print Icon
To Next Page IconTo Next Page
To Next Page IconTo Next Page
To Previous Page IconTo Previous Page
To Previous Page IconTo Previous Page
Loading...
49
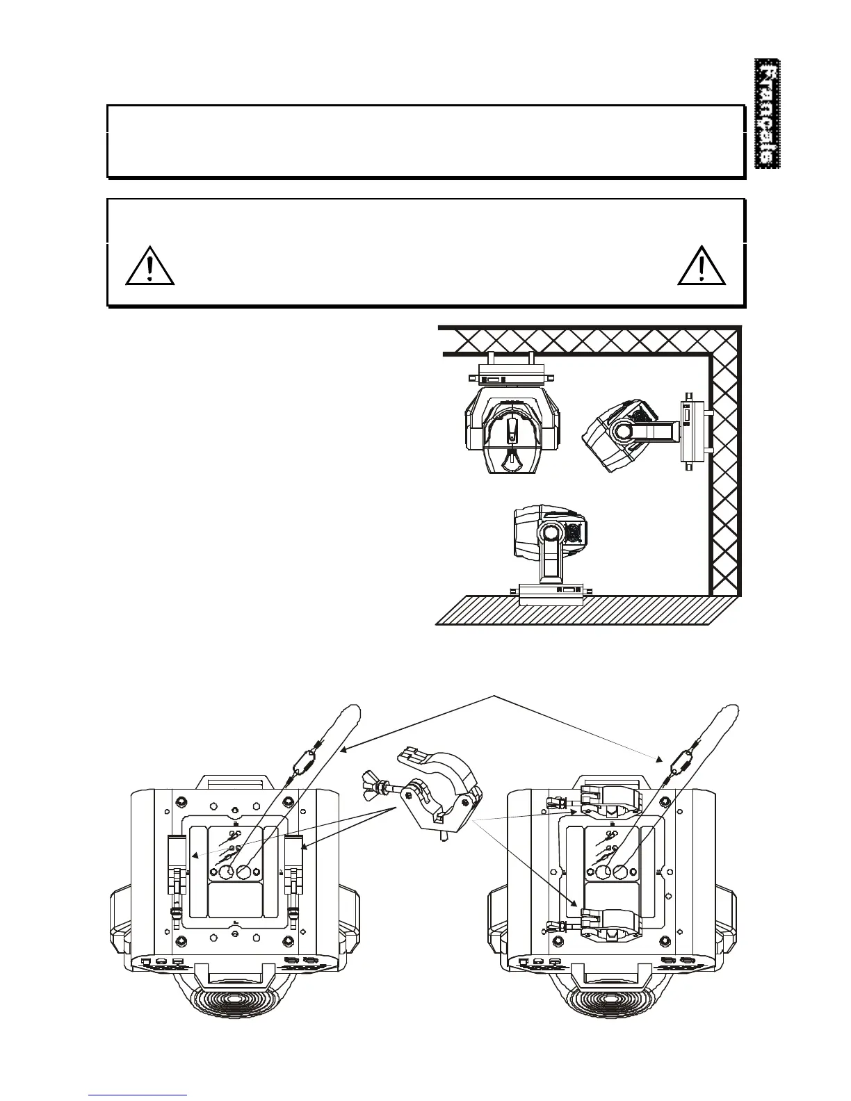
Montage du projecteur
DANGER D’INCENDIE!
Assurez-vous, lors du montage qu’il n’y ait pas de matériau facilement inflammable
en contact avec le boîtier (distance minimale 0,5 m).
ATTENTION!
N’installez le projecteur que par deux crochets appropriés. Svp observez de
même les indications d’installation sur le côté bas de l’unité de base.
Veillez à ce que l’appareil soit bien fixé. Assurez-vous
que l’attache soit robuste et stable.
L'appareil peut être mis directement au sol ou être
installé dans chaque position possible dans le
Trussing, sans changer ses caractéristiques fonction-
nels.
La base de projecteur peut être installée en deux
manières différentes. N’utilisez que des crochets avec
des vis M10. Serrez bien les vis.
Toujours assurez le projecteur avec une élingue de
sécurité, qui est dimensionnée au moins pour 10 fois
le poids de l'appareil.
Elingue de sécurité
Crochet

Table of Contents

Other manuals for Future light MH - 640

Related product manuals