EasyManua.ls Logo

G-Tec ZP120LCD - Page 59

G-Tec ZP120LCD
69 pages
Print Icon
To Next Page IconTo Next Page
To Next Page IconTo Next Page
To Previous Page IconTo Previous Page
To Previous Page IconTo Previous Page
Loading...
59
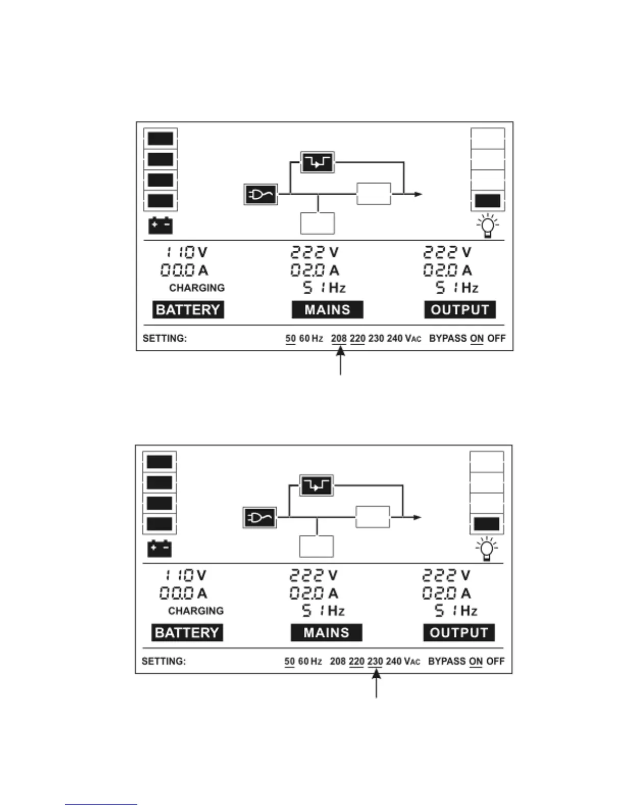
Esempio: istruzioni per cambiare il voltaggioin uscita da 220Vac
a 230Vac tramite il pannello LCD.
Passo
1:
Premere il pulsante “Select”: sotto la scritta 208V apparirà
una linea nera lampeggiante.
Passo
2
:
Premere il pulsante “Select” altre due volte: la linea
lampeggiante si sposterà sotto “230Vac”.

Table of Contents

Related product manuals