EasyManua.ls Logo

GE 345 - Page 33

GE 345
82 pages
Print Icon
To Next Page IconTo Next Page
To Next Page IconTo Next Page
To Previous Page IconTo Previous Page
To Previous Page IconTo Previous Page
Loading...
CHAPTER 2: INSTALLATION ELECTRICAL INSTALLATION
345 TRANSFORMER PROTECTION SYSTEM – QUICKSTART GUIDE 27
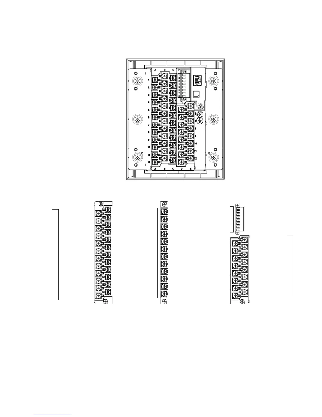
Figure 2-15: Terminal Identification - Drawout
INPUT 1
INPUT 2
INPUT 3
INPUT 4
INPUT 5
INPUT 6
INPUT 7
INPUT 8
INPUT 9
INPUT 10
INPUT COM
CHASSIS GND
W1 PHASE A CT
W1 PHASE B CT
W1 PHASE C CT
W1 GND CT
W2 PHASE A CT
W2 PHASE B CT
W2 PHASE C CT
W2 GND CT
W1 PHASE A CT
W1 PHASE B CT
W1 PHASE C CT
W1 GND CT
W2 PHASE A CT
W2 PHASE B CT
W2 PHASE C CT
W2 GND CT
IRIG-B +
IRIG-B -
RS485 +
RS485 -
RS485 COM
CHASSIS GND
RESERVED
RESERVED
POWER SUPPLY +
CHASSIS GND
W1 TRIP COM
W2 TRIP N/O
W2 TRIP OPTV
AUX 3 COM
AUX4N/C
AUX4N/O
AUX 5 COM
AUX6N/C
AUX6N/O
CRIT FAIL COM
POWER SUPPLY -
W1 TRIP N/O
W1 TRIP OPTV
W2 TRIP COM
AUX3N/C
AUX3N/O
AUX 4 COM
AUX5N/C
AUX5N/O
AUX 6 COM
CRIT FAIL N/C
CRIT FAIL N/O
1
2
3
4
5
6
7
8
9
10
11
12
1
2
3
4
5
6
7
8
9
10
11
12
5
6
7
8
9
10
11
12
AB C DE
F
1
2
3
4
5
6
7
8

Table of Contents

Other manuals for GE 345

Related product manuals