EasyManua.ls Logo

GE FHSD720C - Page 38

GE FHSD720C
44 pages
Print Icon
To Next Page IconTo Next Page
To Next Page IconTo Next Page
To Previous Page IconTo Previous Page
To Previous Page IconTo Previous Page
Loading...
FHSD700C Series Product Guide
GE Security
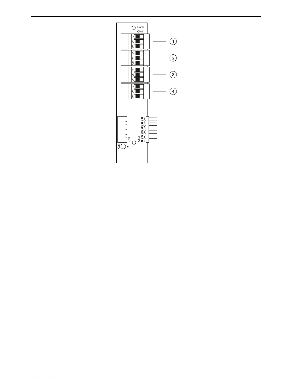
Figure 5-4: Relay Module
Single pole double throw (SDPT) contacts are used in the relay modules with a rating of 2 A at 24 VDC.
32
www.gesecurity.net

Related product manuals