EasyManua.ls Logo

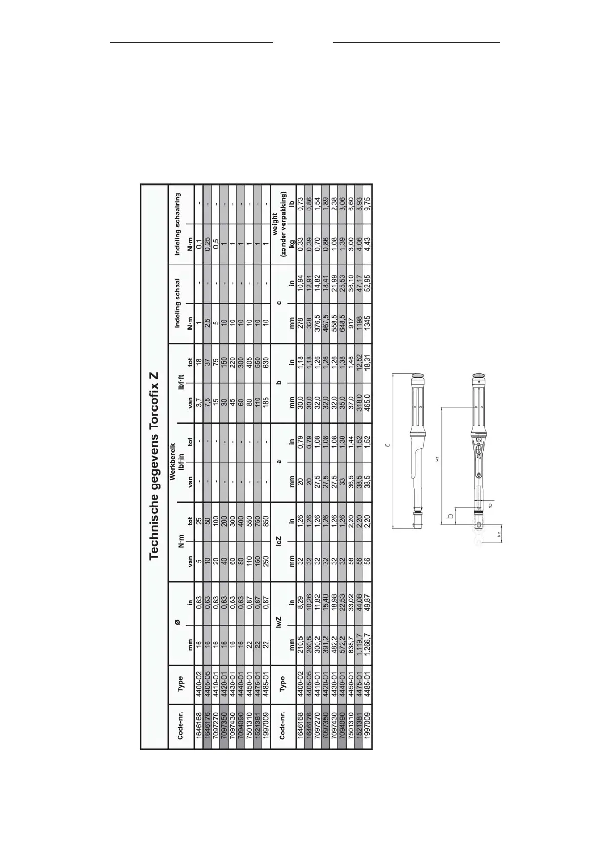
Gedore Torcofix SE - 7 Technische Gegevens; Technische Gegevens TORCOFIX Z

Gedore Torcofix SE
246 pages
Print Icon
To Next Page IconTo Next Page
To Next Page IconTo Next Page
To Previous Page IconTo Previous Page
To Previous Page IconTo Previous Page
Loading...
111
NL
7. Technische gegevens
De volgende gegevens dienen ter oriƫntatie. Op grond van de
constante verdere ontwikkeling van het product kunnen er
afwijkingen ontstaan.
7.1 Technische gegevens TORCOFIX Z

Table of Contents

Related product manuals