EasyManua.ls Logo

Gedore Torcofix SE - Technical Data; Technical Data, TORCOFIX Z

Gedore Torcofix SE
246 pages
Print Icon
To Next Page IconTo Next Page
To Next Page IconTo Next Page
To Previous Page IconTo Previous Page
To Previous Page IconTo Previous Page
Loading...
23
EN
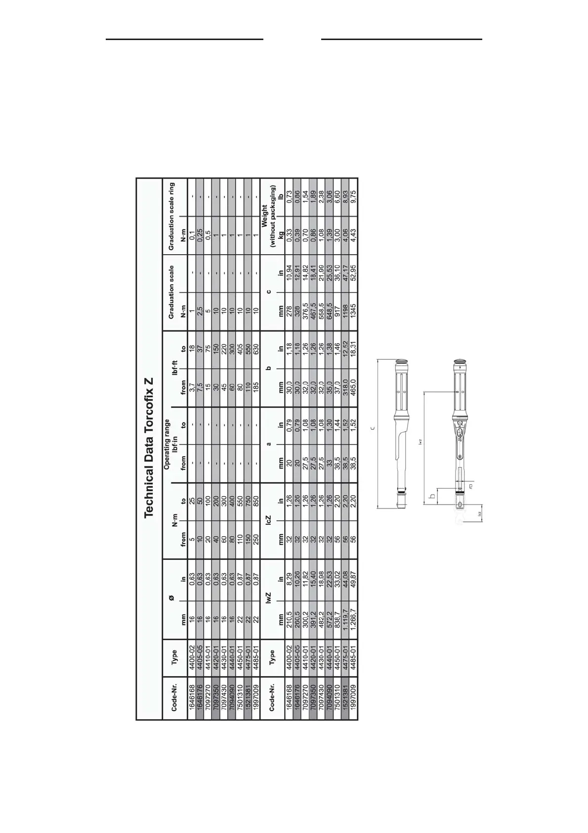
7. Technical Data
The following data are for orientation purposes. Due to the
ongoing further development of the product, deviations can
result.
7.1 Technical Data, TORCOFIX Z

Table of Contents

Related product manuals