EasyManua.ls Logo

Gedore Torcofix SE - 7 Données Techniques; Données Techniques, TORCOFIX Z

Gedore Torcofix SE
246 pages
Print Icon
To Next Page IconTo Next Page
To Next Page IconTo Next Page
To Previous Page IconTo Previous Page
To Previous Page IconTo Previous Page
Loading...
67
FR
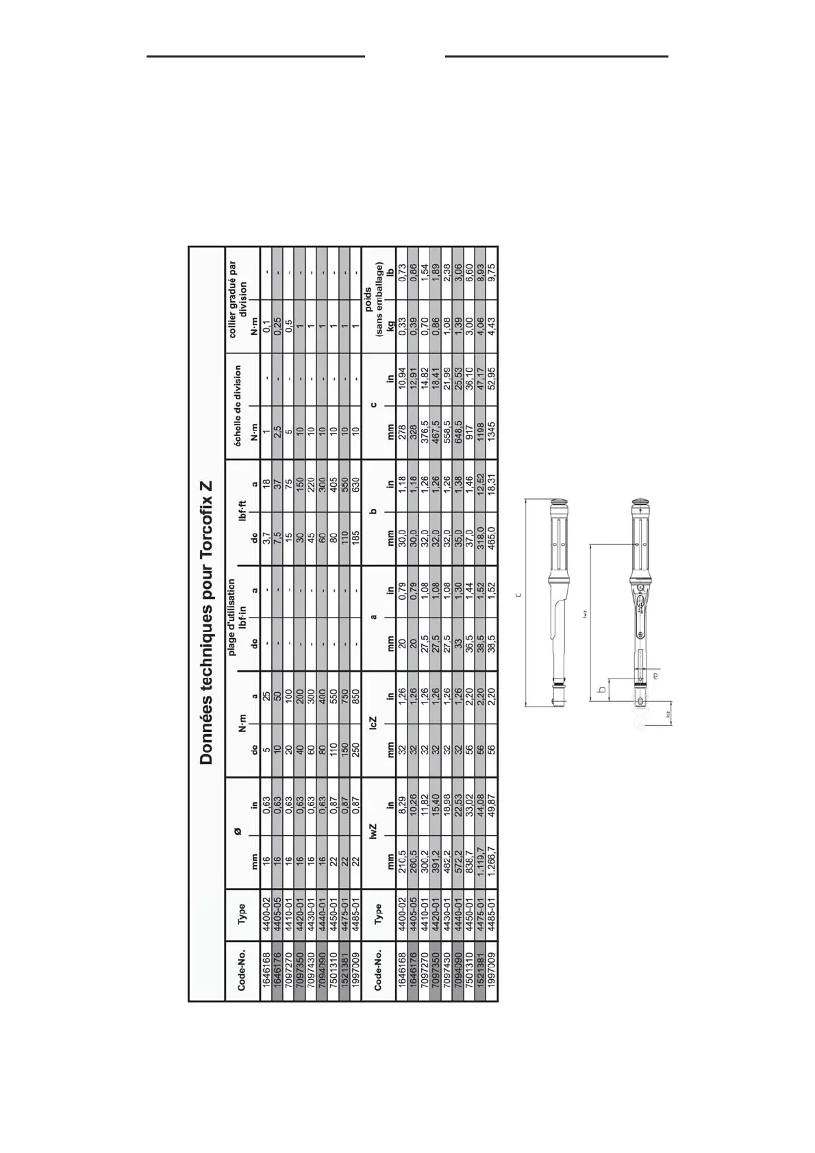
7. Données techniques
Les données suivantes sont fournies à des fins d’orientation.
Le développement constant du produit pourrait donner lieu à
certaines variations.
7.1 Données techniques, TORCOFIX Z

Table of Contents

Related product manuals