EasyManua.ls Logo

Gedore Torcofix SE - 7 Dati Tecnici; Dati Tecnici TORCOFIX Z

Gedore Torcofix SE
246 pages
Print Icon
To Next Page IconTo Next Page
To Next Page IconTo Next Page
To Previous Page IconTo Previous Page
To Previous Page IconTo Previous Page
Loading...
133
IT
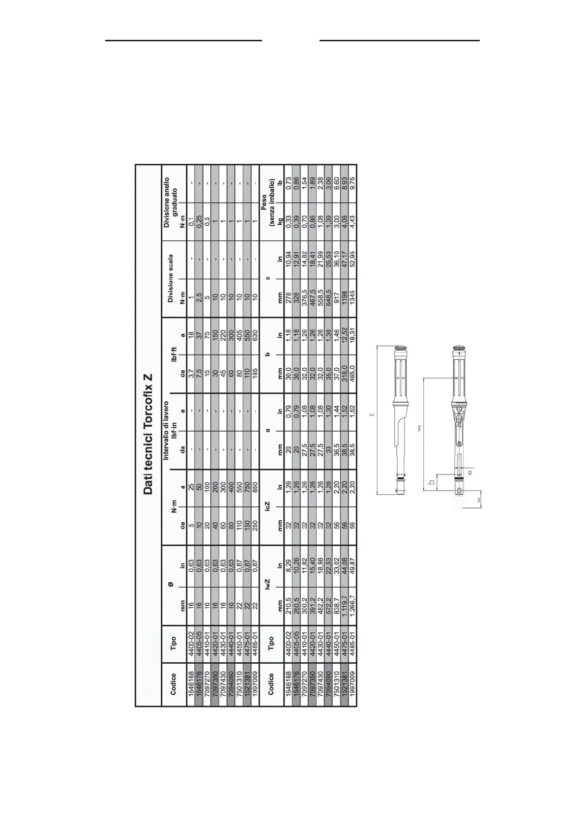
7. Dati tecnici
I seguenti dati fungono da orientamento. Il costante
perfezionamento del prodotto può dare origine a differenze.
7.1 Dati tecnici TORCOFIX Z

Table of Contents

Related product manuals