EasyManua.ls Logo

Gedore Torcofix SE - Page 201

Gedore Torcofix SE
246 pages
Print Icon
To Next Page IconTo Next Page
To Next Page IconTo Next Page
To Previous Page IconTo Previous Page
To Previous Page IconTo Previous Page
Loading...
201
RU
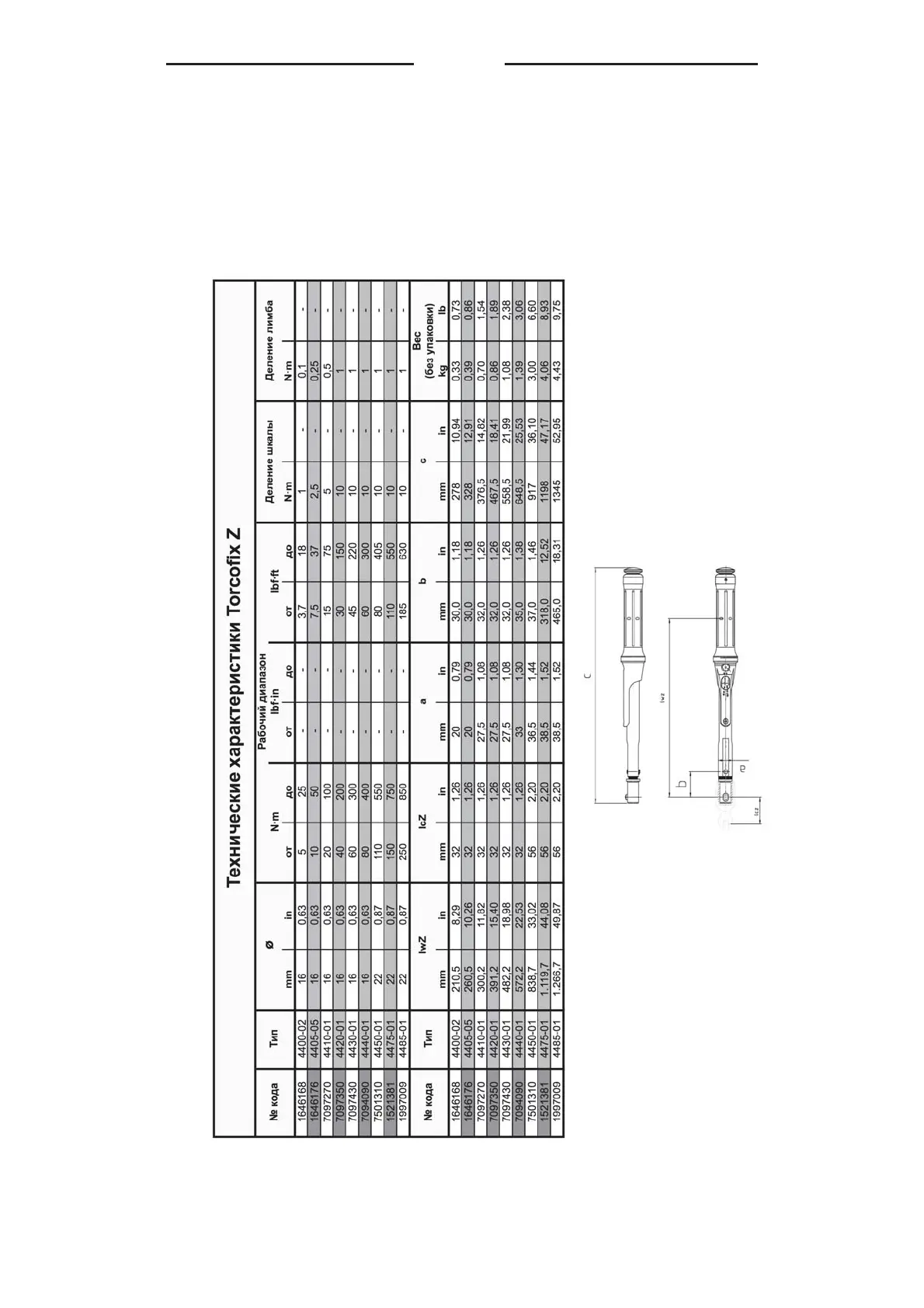
7. Ɍɟɯɧɢɱɟɫɤɢɟ ɯɚɪɚɤɬɟɪɢɫɬɢɤɢ
ɋɥɟɞɭɸɳɢɟ ɞɚɧɧɵɟ ɫɥɭɠɚɬ ɜ ɤɚɱɟɫɬɜɟ ɨɪɢɟɧɬɢɪɚ.
ȼ ɫɜɹɡɢ ɫ ɩɨɫɬɨɹɧɧɵɦ ɭɫɨɜɟɪɲɟɧɫɬɜɨɜɚɧɢɟɦ ɢɡɞɟɥɢɹ
ɦɨɝɭɬ ɢɦɟɬɶ ɦɟɫɬɨ ɪɚɫɯɨɠɞɟɧɢɹ.
7.1 Ɍɟɯɧɢɱɟɫɤɢɟ ɯɚɪɚɤɬɟɪɢɫɬɢɤɢ TORCOFIX Z

Table of Contents

Related product manuals