EasyManua.ls Logo

Generac Power Systems 941-2 - Page 118

Generac Power Systems 941-2
144 pages
Print Icon
To Next Page IconTo Next Page
To Next Page IconTo Next Page
To Previous Page IconTo Previous Page
To Previous Page IconTo Previous Page
Loading...
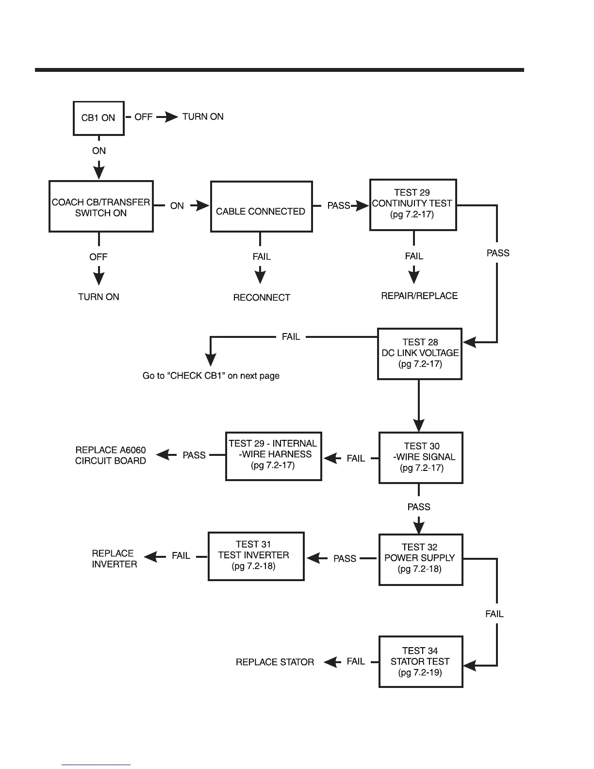
Section 7.2
ENGINE DC CONTROL SYSTEM / AC TROUBLESHOOTING
Page 7.2-8
12-WIRE
12
12
PROBLEM 10 - NO AC OUTPUT

Table of Contents

Related product manuals