EasyManua.ls Logo

Generac Power Systems 941-2 - Page 119

Generac Power Systems 941-2
144 pages
Print Icon
To Next Page IconTo Next Page
To Next Page IconTo Next Page
To Previous Page IconTo Previous Page
To Previous Page IconTo Previous Page
Loading...
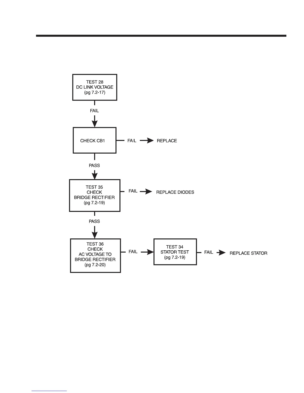
Section 7.2
ENGINE DC CONTROL SYSTEM / AC TROUBLESHOOTING
Page 7.2-9
PROBLEM 10 - NO AC OUTPUT (CONTINUED)

Table of Contents

Related product manuals