EasyManua.ls Logo

Ghost Controls DTP1 - PROGRAMMING THE OPEN LIMIT (PUSH-TO-OPEN)

Ghost Controls DTP1
68 pages
Print Icon
To Next Page IconTo Next Page
To Next Page IconTo Next Page
To Previous Page IconTo Previous Page
To Previous Page IconTo Previous Page
Loading...
56
PUSHTOOPEN
©Ghost Controls 2018
PROGRAMMING THE OPEN LIMIT FOR A PUSHTOOPEN
INSTALLATION
The OPEN limit is when the operator is extended and the gate is in the closed position.
IMPORTANT
ONLY THE OPERATOR ARMS’ EXTENDED LIMIT IS ADJUSTABLE AND CAN BE SET WITH THE CONTROL
BOARD. THE ARMS’ RETRACTED POSITION IS FIXED AND IS NOT ELECTRONICALLY ADJUSTABLE.
THE CLOSED POSITION IS SET BY HARDWARE MOUNTING ONLY. Please refer to the hardware installation to
make sure the retracted position is properly set/installed.
Installation Type Retracted Position Extended Position
Push-To-Open Gate at the fully CLOSED position (not
electronically adjustable)
Gate at the OPEN position (electroni-
cally adjustable)
TURN THE CONTROL BOX ON
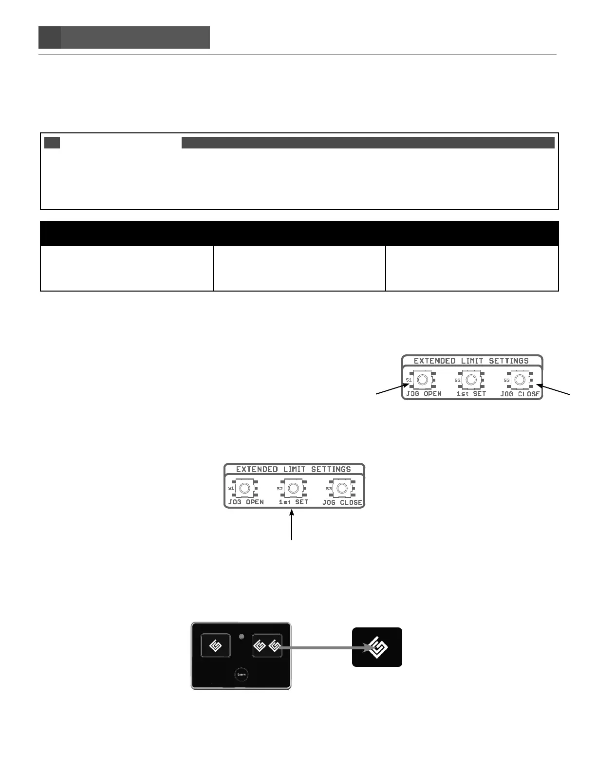
STEP 15. Setting the open limit.
A. Press and hold the JOG OPEN buttons on the gate system control
board until the gate reaches the desired OPEN position. The gate
can move only if pressure is maintained. Releasing the JOG button
will stop the gate immediately.
B. Both JOG OPEN or JOG CLOSE buttons are needed to ‘fine’ tune your
desired OPEN position.
STEP 16. Press and hold the 1st set limit button on the control panel until it beeps, then release.
STEP 17. Press the transmitter button to activate the gate and let the gate close fully. you should
hear a single beep.
When the gate reaches its CLOSED position, the control board will sound a single beep, confirming the CLOSED limit has
been set.

Related product manuals