EasyManua.ls Logo

Gira One - Page 9

Gira One
19 pages
Print Icon
To Next Page IconTo Next Page
To Next Page IconTo Next Page
To Previous Page IconTo Previous Page
To Previous Page IconTo Previous Page
Loading...
Mounting and connecting the device
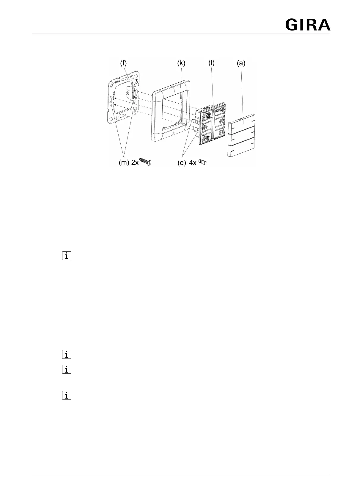
Figure5: Mount device
(a) Operating rockers (accessory)
(e) Retaining clips for device fixation at the supporting frame
(f) Supporting frame
(k) Cover frame (accessory)
(l) Push-button sensor
(m) Box screws
The device should be used in an air-tight appliance box. Otherwise temperat-
ure and humidity reading can be negatively influenced by draughts.
Enter or scan the device certificate and add it to the project. A high resolution
camera should be used to scan the QR code.
The device certificate should be removed from the device during mounting.
Document all passwords and keep them safe.
Precondition: The installation position of the push-button sensor is defined.
Mount supporting frame in the right orientation, "standard installation position"
or "turned by -90°", on an appliance box.
Note the
TOP
marking.
Use the supplied box screws.
Pull off commissioning rockers from push-button sensor.
The push-button sensor is delivered with commissioning rockers. The operat-
ing rockers suitable for the push-button sensor must be ordered separately
(see accessories).
Connect bus line with device connection terminal observing the correct polarity
(red = +, black = -).
Optional: Connect remote sensor (see accessories) to connection for remote
sensor. The relevant device connection terminal is included with the remote
sensor.
9 / 19
32406222 10871142 19.12.2023
Pushbutton sensor 4 Komfort System 55

Other manuals for Gira One

Related product manuals