EasyManua.ls Logo

Godox TT685O - Page 3

Godox TT685O
13 pages
Print Icon
To Next Page IconTo Next Page
To Next Page IconTo Next Page
To Previous Page IconTo Previous Page
To Previous Page IconTo Previous Page
Loading...
RST
SET
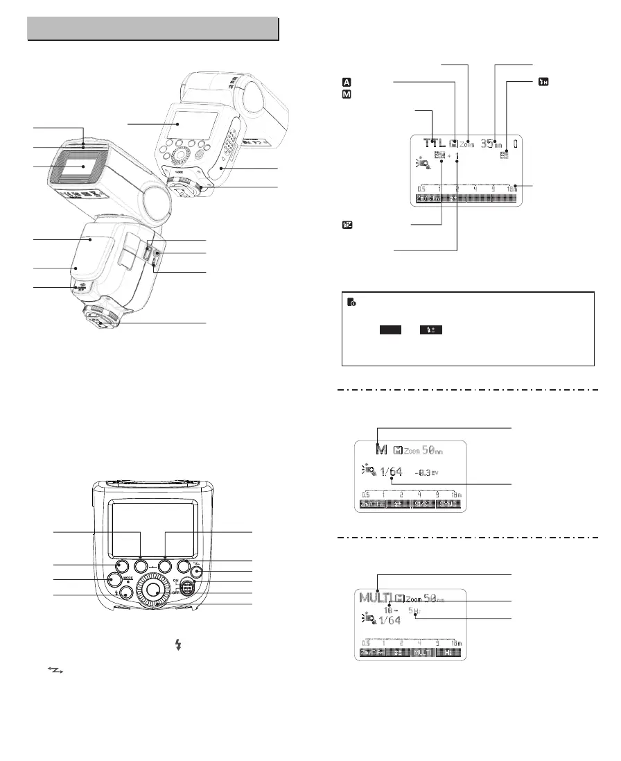
01. Catchlight Panel
02. Built-in Wide Panel
03. Flash Head
04. Optic Control Sensor
05. Wireless Control Port
06. Sync Cord Jack
07. Hotshoe
08. Dot-marix LCD Panel
09. Lock Ring
10. Battery Compartment
11. USB Port
12. Slave Flash Ready Indicator
13. External Power Supply Socket
Body
14. <MODE> Mode Selection
Button / Lock button
15. < >Wireless Selection
Button
16. Select Dial
17. <SET> Set Button
18. ON/OFF Power Switch
19. < > Test Button / Flash
Ready Indicator
20. Function Button 1
21. Function Button 2
22. Function Button 3
23. Function Button 4
Control Panel
LCD Panel
Name of Parts
20
21
22
14
19
17
18
15
23
16
(1) TTL Autoflash
Zoom : zoom display (Page 44)
: Automatic
: Manual(Page 35)
TTL : TTL autoflash
Focus length (Page 44)
: High-speed sync
(Page 34)
: Flash exposure
compensation (Page 33)
Distance indicator
display
Flash exposure
compensation amount
(2) M Manual Flash
The display will only show the settings currently applied.
The functions displayed above function buttons 1 to 4, such
as and , change according to settings’ status.
When a button or dial is operated, the LCD panel
illuminated.
M : Manual flash
Manual flash output
(3) Multi Stroboscopic Flash
Multi : Stroboscopic flash
Number of flashes
Flash frequency
08
05
06
11
07
09
10
12
04
03
02
01
13
SYNC
- 29 - - 30 -

Related product manuals