EasyManua.ls Logo

Graco 223843 - Mounting Hole Layout

Graco 223843
24 pages
Print Icon
To Next Page IconTo Next Page
To Next Page IconTo Next Page
To Previous Page IconTo Previous Page
To Previous Page IconTo Previous Page
Loading...
22 308106
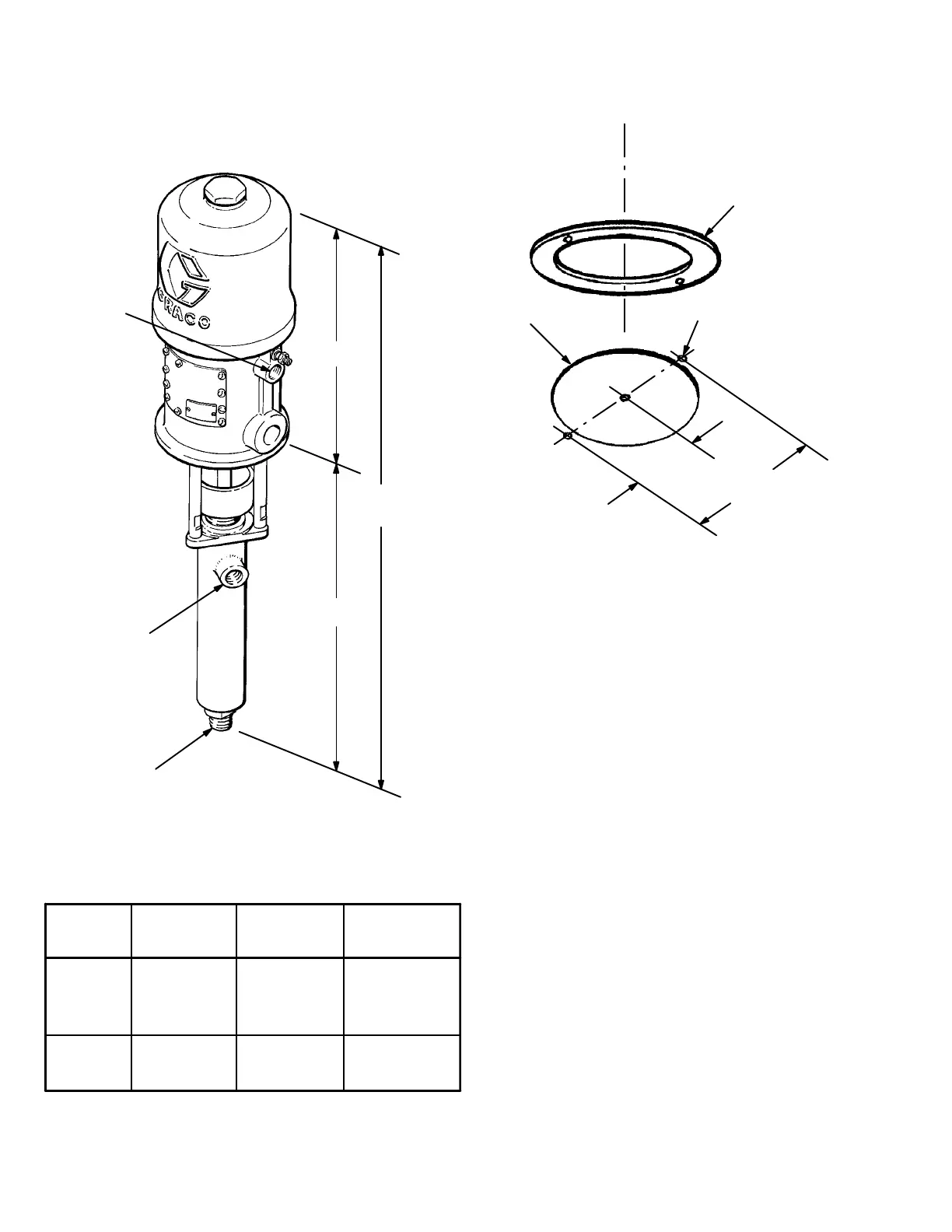
Dimensions Mounting Hole
Layout
Model 223843 Shown
A
C
PumpABC
Model
223843 30 in. 14.8 in. 15.2 in.
(762 mm) (376 mm) (386 mm)
223844 28.4 in. 13.3 in. 15.1 in.
(722 mm) (338 mm) (384 mm)
1/2 npt(f)
AIR INLET
3/8 npt(f)
FLUID OUTLET
0.28” (7.1 mm) DIA.
5.0”
(127 mm)
2.5”
(64 mm)
4.38”
(111.3 mm)
DIA.
3/4 npt(m)
FLUID INTAKE
B
USE GASKET 166392
(ORDER SEPARATELY)

Related product manuals