EasyManua.ls Logo

Graco fire-ball 425 - Parts

Graco fire-ball 425
22 pages
Print Icon
To Next Page IconTo Next Page
To Next Page IconTo Next Page
To Previous Page IconTo Previous Page
To Previous Page IconTo Previous Page
Loading...
Parts
16 308655K
Parts
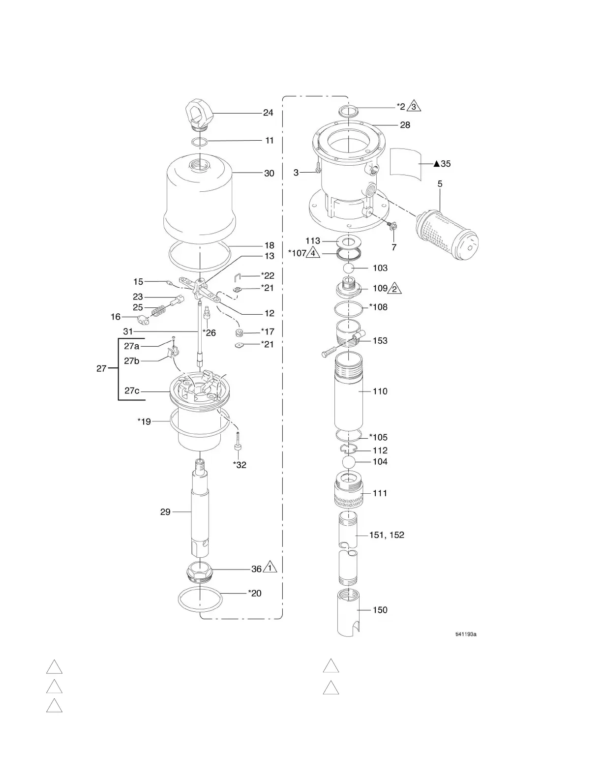
Torque to 30 to 40 ft.-lbs (40.7 to 54.2 N•m)
1
2
Torque to 45 to 55 ft.-lbs (61 to 74.6 N•m)
Lips face down
Lips face up
When assembling the fluid cylinder (110) over
the assembled fluid piston (107, 109, 113), use
the piston assembly tool included in Repair Kit
238751, and steps 21 through 27, page 14 to
page 15.
3
4
5

Other manuals for Graco fire-ball 425

Related product manuals