EasyManua.ls Logo

Gree ME30-24/D1 - Page 19

Gree ME30-24/D1
32 pages
To Next Page IconTo Next Page
To Next Page IconTo Next Page
To Previous Page IconTo Previous Page
To Previous Page IconTo Previous Page
Loading...
VRF Protocol Gateway
16
2 Communication line model selection for Gateway and AC unit
Wire type
L(m)Communicatio
n line between
gateway and AC
units
Wire
diameter(mm2)
Wire standard Remark
Light-weight/norma
l PVC jacket
twisted copper wire
L≤ 500 ≥ 2×0.75 IEC 60227- 5:2007
Total
communication
length shall not
exceed 500m
7.3.2 Communication Connection Method
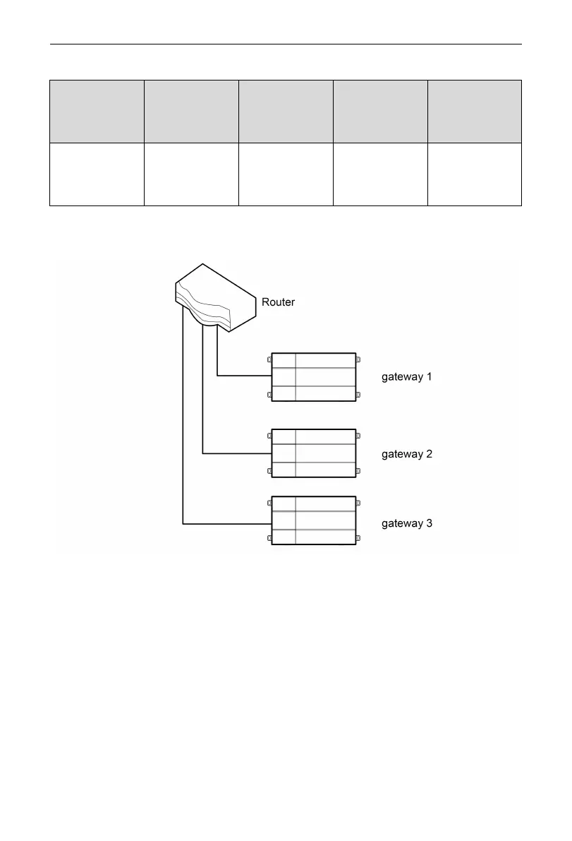
1 Communication connection between Gateway and BMS
Fig. 7.6 Connecting method between gateway and router

Related product manuals