EasyManua.ls Logo

Grip Rite GR254CTS - Compressor Pump Schematic

Grip Rite GR254CTS
40 pages
Print Icon
To Next Page IconTo Next Page
To Next Page IconTo Next Page
To Previous Page IconTo Previous Page
To Previous Page IconTo Previous Page
Loading...
11
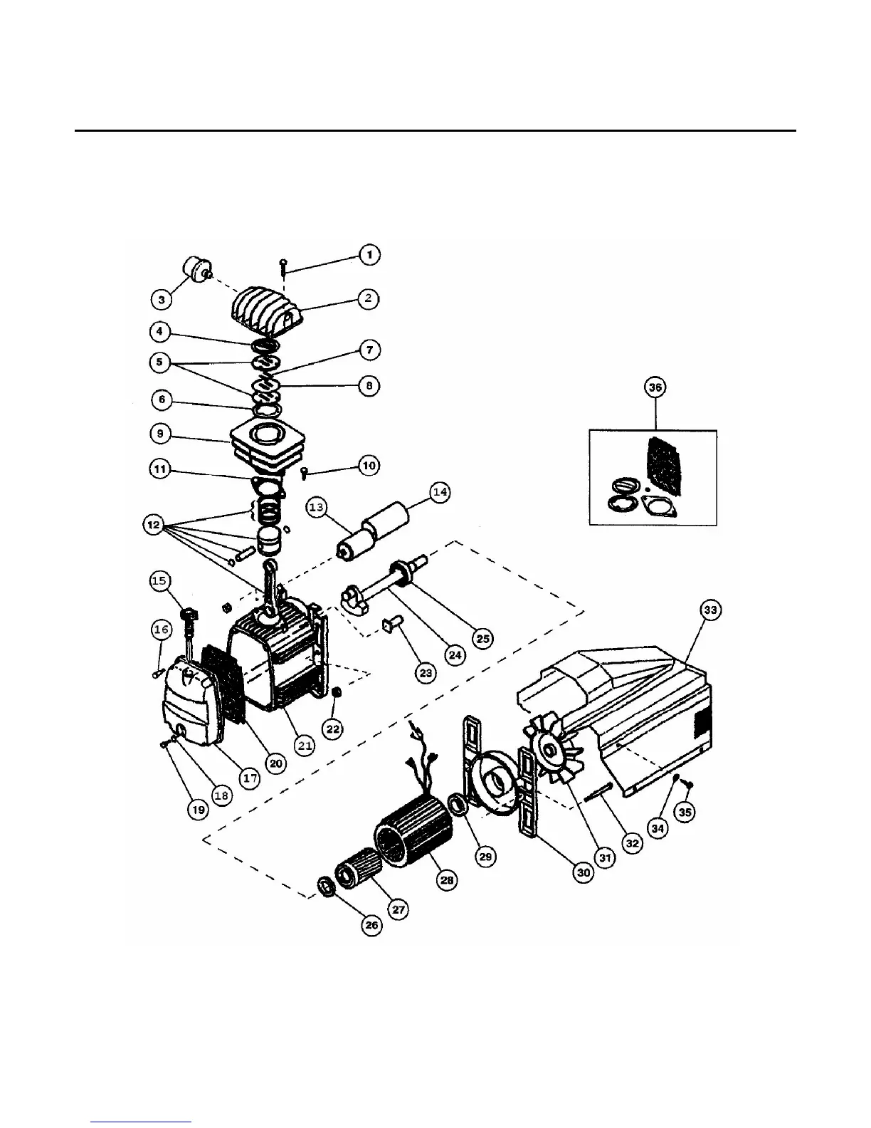
COMPRESSOR SCHEMATIC - PUMP

Related product manuals