EasyManua.ls Logo

Guldmann GL5 - 10.00 Technical Specifications; Lifter Dimensions and Measurements

Guldmann GL5
28 pages
Print Icon
To Next Page IconTo Next Page
To Next Page IconTo Next Page
To Previous Page IconTo Previous Page
To Previous Page IconTo Previous Page
Loading...
19
© Guldmann GB/US-1996/09/2016 • # 554400_3
© Guldmann GB/US-1996/09/2016 • # 554400_3
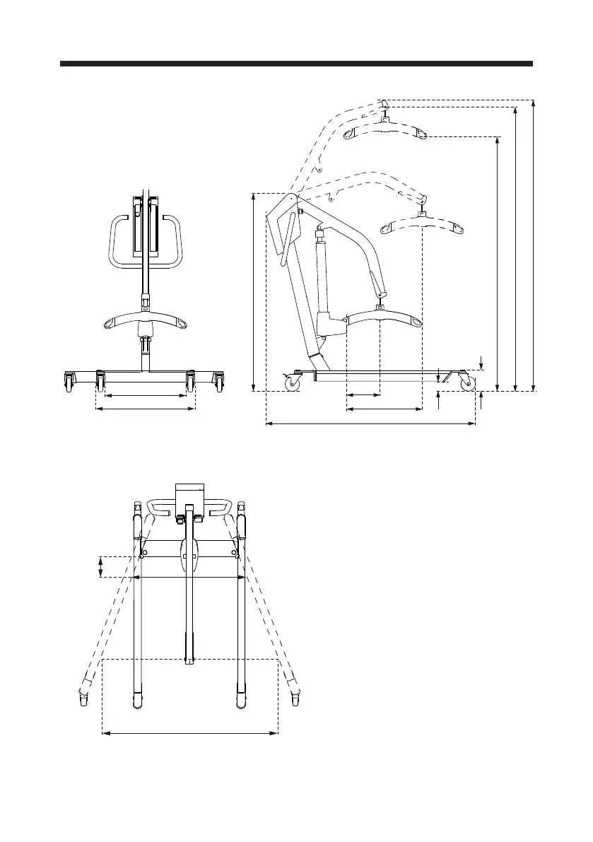
10.00 Technical specications
A .....................69 mm *
B ....................143 mm *
C...................2013 mm *
D...................1370 mm *
E ....................229 mm
F ....................518 mm
G...................1382 mm
H min/max ........664/1967 mm *
I min/max .........456/1759 mm *
J min/max .........530/1300 mm
K min/max ........695/1410 mm
L ....................120 mm
M...................1090 mm
* If wheels Ø 80 mm are used,
deduct 25 mm
E
F
G
D
I
H
C
A
B
J
K
M
700
L

Other manuals for Guldmann GL5

Related product manuals