EasyManua.ls Logo

Hakko Electronics FR-811 - Page 24

Hakko Electronics FR-811
48 pages
Print Icon
To Next Page IconTo Next Page
To Next Page IconTo Next Page
To Previous Page IconTo Previous Page
To Previous Page IconTo Previous Page
Loading...
23
--
--
--
--
--
--
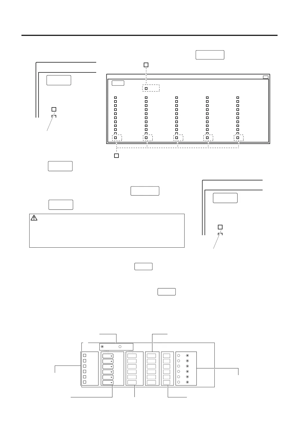
Ramp VacuumTemp Timer Air
TOP
ZONE1
ZONE2
ZONE3
ZONE4
ZONE5
ZONE6
100
200
300
400
500
600
10
10
10
10
10
10
50
50
50
50
50
50
Timer Type
Opened Closed
℃/s
℃/s
℃/s
℃/s
℃/s
℃/s
s
s
s
s
s
s
%
%
%
%
%
%
ON
ON
ON
ON
ON
ON
OFF
OFF
OFF
OFF
OFF
OFF
Timer mode selection Timer setting
Zone function
ON/OFF setting
Airflow rate setting
Vacuum function
ON/OFF setting
RAMP RATE
setting
Temperature
setting
Upload to the HAKKO FR-811
Download to the PC
1.
To upload created profile data to the Hakko FR-811, click
.
1. To download profile data to the PC, click .
Deleting selected profile data.
To clear the currently selected profiles, click
    
.
Reading demo mode
Zone settings (soldering iron heater)
To read the internal profiles (select from 3 types), click
    
.
You can set the items listed below for ZONE1 to ZONE6. For conditions such as setting ranges, etc.,
please refer to page 18.
2. Click to upload the data.
Checktheprofilesthatyouwant
touploadintheUploadscreen.
PC->Station
PC<-Station
X
Upload
PC->
NewFile
1 - 10
Profile01
(NO DATA)
(NO DATA)
(NO DATA)
(NO DATA)
(NO DATA)
(NO DATA)
(NO DATA)
(NO DATA)
(NO DATA)
All
11 - 20
(NO DATA)
All select
(NO DATA)
(NO DATA)
(NO DATA)
(NO DATA)
(NO DATA)
(NO DATA)
(NO DATA)
(NO DATA)
(NO DATA)
All
21 - 30
(NO DATA)
(NO DATA)
(NO DATA)
(NO DATA)
(NO DATA)
(NO DATA)
(NO DATA)
(NO DATA)
(NO DATA)
(NO DATA)
All
31 - 40
(NO DATA)
(NO DATA)
(NO DATA)
(NO DATA)
(NO DATA)
(NO DATA)
(NO DATA)
(NO DATA)
(NO DATA)
(NO DATA)
All
41 - 50
(NO DATA)
(NO DATA)
(NO DATA)
(NO DATA)
(NO DATA)
(NO DATA)
(NO DATA)
(NO DATA)
(NO DATA)
(NO DATA)
All
PC->
2. Click to upload the data.
PC<-
Upload
PC->
NewFile
1 - 10
Profile01
(NO DATA)
(NO DATA)
(NO DATA)
(NO DATA)
(NO DATA)
(NO DATA)
(NO DATA)
(NO DATA)
(NO DATA)
All
11 - 20
(NO DATA)
All select
(NO DATA)
(NO DATA)
(NO DATA)
(NO DATA)
(NO DATA)
(NO DATA)
(NO DATA)
(NO DATA)
(NO DATA)
All
21 - 30
(NO DATA)
(NO DATA)
(NO DATA)
(NO DATA)
(NO DATA)
(NO DATA)
(NO DATA)
(NO DATA)
(NO DATA)
(NO DATA)
All
31 - 40
(NO DATA)
(NO DATA)
(NO DATA)
(NO DATA)
(NO DATA)
(NO DATA)
(NO DATA)
(NO DATA)
(NO DATA)
(NO DATA)
All
41 - 50
All
:Checkthistouploadeachblockof10profiles.
:Checkthistouploadall50profiles.
All select
Check the profiles that you want to
download in the download screen.
Download
PC<-
NewFile
1 - 10
Profile01
(NO DATA)
(NO DATA)
(NO DATA)
(NO DATA)
(NO DATA)
(NO DATA)
(NO DATA)
(NO DATA)
(NO DATA)
All
11 - 20
(NO DATA)
All select
(NO DATA)
(NO DATA)
(NO DATA)
(NO DATA)
(NO DATA)
(NO DATA)
(NO DATA)
(NO DATA)
(NO DATA)
All
CAUTION
When uploading is performed in steps and , all destination
profile data will be overwritten. Be sure to take measures such as
previously saving necessary profile data, etc. to avoid overwriting
necessary profile data by mistake.
Delete
Demo

Related product manuals