EasyManua.ls Logo

Hand Held Products Quick Check Bar Code Verifiers 800 - Page 107

Hand Held Products Quick Check Bar Code Verifiers 800
120 pages
Print Icon
To Next Page IconTo Next Page
To Next Page IconTo Next Page
To Previous Page IconTo Previous Page
To Previous Page IconTo Previous Page
Loading...
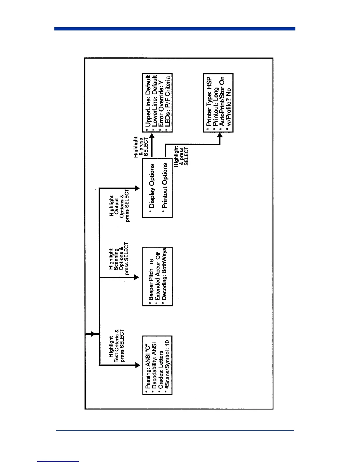
Quick Check® 600/800 Series User’s Guide 10 - 5

Table of Contents

Related product manuals