EasyManua.ls Logo

Hanna Instruments HI 2210 - Page 22

Hanna Instruments HI 2210
28 pages
To Next Page IconTo Next Page
To Next Page IconTo Next Page
To Previous Page IconTo Previous Page
To Previous Page IconTo Previous Page
Loading...
22
120 mm
4.7"
12 mm
0.5"
9.5mm DIA
0.37"
"S" VERSION
HI 1043
ORP PRETREATMENT SOLUTIONS
HI 7091L Reducing Pretreatment Solution, 500 mL bottle
HI 7092L Oxidizing Pretreatment Solution, 500 mL bottle
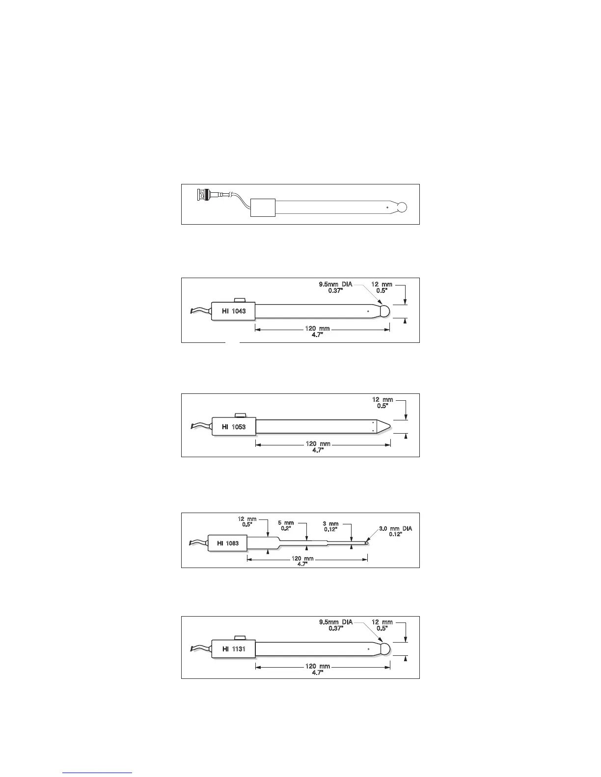
pH ELECTRODES
All electrodes part numbers ending with B are supplied with BNC
connector and 1 m (3.3') cable, as shown below:
HI 1043B
Glass-body, double junction, refillable, combination pH electrode.
Use: strong acid/alkali.
HI 1053B
Glass-body, triple ceramic, conic shape, refillable, combination pH
electrode. Use: emulsions.
HI 1083B
Glass-body, micro, Viscolene, non-refillable, combination pH electrode.
Use: biotechnology, micro titration.
HI 1131B
Glass-body, double junction, refillable, combination pH electrode.
Use: general purpose.
120 mm
4.7"
12 mm
0.5"
"S" VERSION
HI 1053
120 mm
4.7"
12 mm
0.5"
5 mm
0.2"
3 mm
0.12"
3.0 mm DIA
0.12"
HI 1083
120 mm
4.7"
12 mm
0.5"
9.5mm DIA
0.37"
"S" VERSION
HI 1131

Related product manuals