EasyManua.ls Logo

Harbor Breeze POINT BREAK - Preparación; Instalación Inicial

Harbor Breeze POINT BREAK
Print Icon
To Next Page IconTo Next Page
To Next Page IconTo Next Page
To Previous Page IconTo Previous Page
To Previous Page IconTo Previous Page
Loading...
15
INSTALACION INICIAL
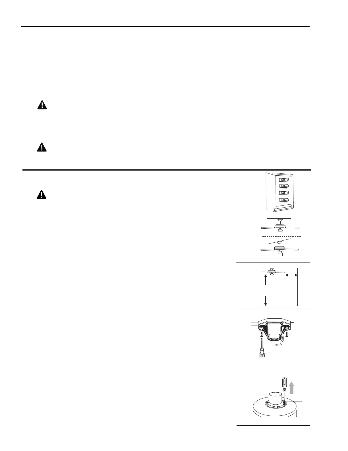
1. Apague todos los disyuntores del circuito y el interruptor de
pared a la línea de suministro de electricidad del ventilador. [Fig. 1]
Advertencia: El no desconectar el suministro de
electricidad antes de la instalación puede resultar en daños graves
o la muerte.
Fig. 1
Fig. 3
Fig. 4
Fig. 5
C
A
B
Fig. 2
E
N
L
1. Antes de empezar con el ensamblaje e instalación del producto, asegúrese de tener todas las piezas. Compare las
piezas con la lista y los diagramas del "Contenido del paquete" en la página anterior. Si falta alguna pieza o se
encuentra dañada, no trate de ensamblar, instalar o hacer funcionar el producto. Póngase en contacto con el
departamento de servicio al cliente para piezas de repuesto tal como se le indica al pie de la página 14.
Tiempo estimado para la instalación: 120 minutos
Herramientas necesarias para el ensamblaje (no incluidas): cinta aislante, destornillador Phillips, alicate, gafas
protectoras, escalera portátil y pela cables
Herramientas opcionales (no incluidas): lámpara probador CA, cinta de medir, guía de hágalo usted mismo y
cortaalambres
Bombillas necesarias (no incluidas): 3 bombillas de base candelabro de 40 vatios máx., se recomienda tamaño CA8
2. Después de abrir la parte superior de la caja de cartón, saque el paquete de ferretería para montaje de las
inserciones de goma espuma. Saque el motor del empaquetado y póngalo en la alfombra o sobre la goma espuma
para evitar daño al acabado.
PRECAUCION: Cuidadosamente verifique que todos los tornillos, los pernos y las tuercas en el motor del
ventilador están seguros.
ADVERTENCIA: Cuando utilice una caja de salida existente, asegúrese de que la caja esté firmemente
sujetada a la estructura del edificio para que pueda sostener el peso total del ventilador. El no hacer ésto puede
resultar en graves daños o la muerte.
PREPARACION
2,13 m
min.
76 cm
min.
H
3. Asegúrese de que las paletas (H) del ventilador queden a por lo
menos 30 pulgadas (76 cm) de cualquier obstrucción. Verifique la
longitud del vástago (A) para asegurarse de que las paletas (H) queden a
por lo menos 7 pies (2,13 m) arriba del nivel del piso. [Fig. 3]
2. Determine el método de montaje. [Fig. 2]
A. Montaje normal
B. Montaje en ángulo
Importante: Cuando use el montaje en ángulo, asegúrese
de que el ángulo del techo no tenga una inclinación mayor de 25°.
4. Asegure el soporte de montaje (C) a la caja de salida con los
tornillos, las arandelas de resorte, y las arandelas planas (tamaño 8)
provistos con la caja de salida. [Fig. 4]
*Nota: Es muy importante usar los artículos de ferretería correctos al
instalar el soporte de montaje (C) puesto que sirve para sostener el
ventilador. Por favor asegúrese de comprar cualquier artículo de
ferretería que falte para poder instalar el soporte de montaje (C)
correctamente.
Importante: Si usa el montaje en ángulo, asegúrese de instalar el
soporte de montaje (C) con la abertura orientada hacia el punto más
alto del techo.
5. Saque los tornillos del motor (L) y las arandelas de seguridad (N) del
lado inferior del motor. Si es necesario, deseche los plásticos. [Fig. 5]

Related product manuals