EasyManua.ls Logo

Helo Cup D - Page 103

Helo Cup D
Print Icon
To Next Page IconTo Next Page
To Next Page IconTo Next Page
To Previous Page IconTo Previous Page
To Previous Page IconTo Previous Page
Loading...
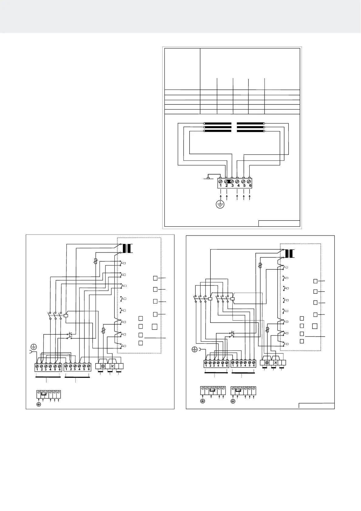
2.16. Schemat połączeń
Rysunek 9 Schemat połączeń Piec do sauny
Rysunek 10 Schemat pączeń Skrzynka
stycznika WE 30 y WE 40
Instrukcja montażu i obsługi Cup D
11
1. Wejście zasilania Skrzynka stycznika
2. Wejście zasilania Piec do sauny
3. Naprzemienne ogrzewanie elektryczne
4. Sauna swiatla
5. Panel sterujący Pure lub Elite
6. Czujnik OLET 31
7. Przełącznik drzwiowy
8. Zdalne sterowanie
9. Czujnik extra (Extra NTC)
10. Wentylator
2
kW
4,5
6,0
8,0
230 V
63 64 65 SEPC SEPC SEPC
1500W 2000W 2670W
1,2,3
1,2,3
354 SKSM 164 A
1,2,3
N U V W
3
1
Teho, Effekt
Input, Potencia
Leistung, Moc
Vöimsus,Wejscie
Puissance,
Potenza, Bement
mpövastukset, Värmeelement, Tennid,
Heating elements, Heizeelement, Resistores
rmicos, Éléments chauffants, Elementy
grzewcze, Elemento riscaldante, tõelemekТЭНы,
T3,15 AH
F2
X1
X2
10OLEA 3
Light
X13
X14
X11
X12
Sec/
NTC
Door
Switch
Ext
Switch
Ext
NTC
Control
panel
X9
X10
X17
X18
X15
X16
Aux 0
RJ45
5.
6.
7.
8.
Aux 1
Aux 2
K1
9.
N N N 55
10.
2.
4.
1.
X5
X6
X3
X4
X7
X8
T1 AH
F1
10.4. 3.
SYWE 30
N
1 2 3 64 5
4,5 - 1 kW 400 V 3N~5
L1 L2 L3
T3,15 AH
F2
1
2 3
6
4 5
4,5 9.0 - kW 230 V 3~
L1 L2 L3
N
1
2 3
6
4 5
4,5 - 1 kW 400 V 3N~5
L1 L2 L3
X1
X2
10OLEA 3
Light
X13
X14
X11
X12
Sec/
NTC
Door
Switch
Ext
Switch
Ext
NTC
Control
panel
X9
X10
X17
X18
X15
X16
Aux 0
RJ45
5.
6.
7.
8.
Aux 1
Aux 2
K1
9.
N N N 55
10.
2.
4.
1.
X5
X6
X3
X4
X7
X8
K2
T1 AH
F1
10.
4.
3.
354 SYWE 25 D

Table of Contents

Related product manuals