EasyManua.ls Logo

HIKVISION DS-K2602 - The Connection of Magnetics Detection; Connecting Power Supply

HIKVISION DS-K2602
44 pages
Print Icon
To Next Page IconTo Next Page
To Next Page IconTo Next Page
To Previous Page IconTo Previous Page
To Previous Page IconTo Previous Page
Loading...
DS-K2600 Series Access Controller
27
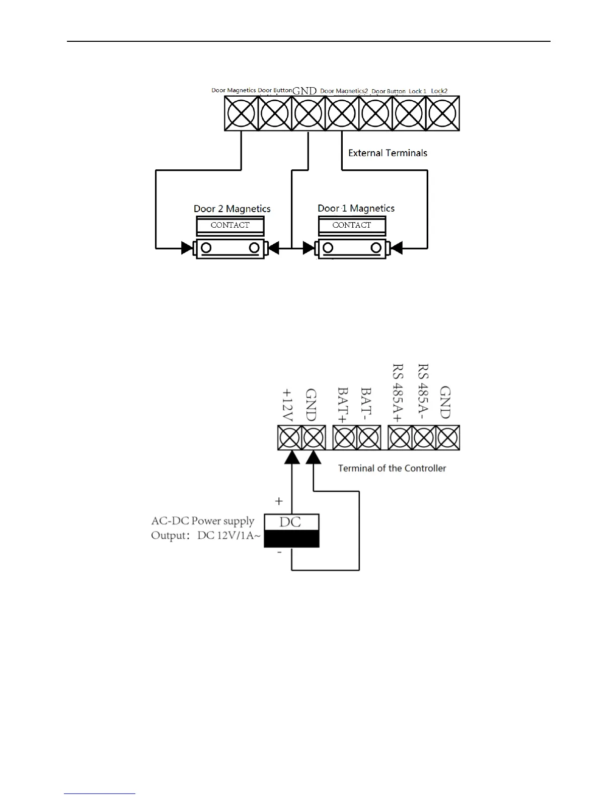
4.6 The Connection of Magnetics Detection
Figure 4-10 Magnetics Connection
4.7 Connecting Power Supply
Figure 4-11 Power Supply Connection

Other manuals for HIKVISION DS-K2602

Related product manuals